69 595 товаров в наличии и на заказ

Электронные компоненты и расходные материалы

$
Настройка отображения валюты
Полный каталог
Скидка на Резисторы переменные (Потенциометры)
-20%

К155ЛА1 DIP14 Микросхема, бК0.348.006-01ТУ.(арт. KT-4084)

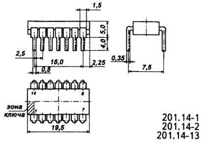
Микросхема К155ЛА1 - представляет собой два логических элемента 4И-НЕ. Корпус К155ЛА1 типа 201.14-1. Расшифровка маркировки полупроводниковой микросхемы: К155ЛА1 К - буква, указывает на микросхему категории качества «ОТК», где К - для использования в аппаратуре народнохозяйственного назначения; 1 - цифра, указывает группу микросхемы по конструктивно-технологическому признаку, где 1 - полупроводниковая микросхема; 55 - цифры, определяют порядковый номер разработки в серии. В совокупности второй и третий элемент обозначает номер конкретной серии; ЛА - буквы, обозначают функциональное назначение микросхемы, где ЛА - логические элементы И-НЕ; 1 - цифра определяет порядковый номер разработки микросхемы в конкретной серии (среди микросхем одного вида). Вся дополнительная информация находится во вложении на товар, см. pdf - файл.

Подробнее
Заметили
ошибку ?
Сообщите нам

Общая информация

Наименование К155ЛА1 DIP14 Микросхема, бК0.348.006-01ТУ.
Торговая марка НПО Интеграл, Минск
Страна происхождения СССР
ТУ бК0.348.006-01ТУ.
Вид приемки i "1"- ОТК
Масса изделия, гр 0,92
Дата выпуска 1980
Наличие паспорта - этикетки нет
Транслитерация K155LA1 DIP14 Microcircuit, bK0.348.006-01TU.
Состояние упаковки самоупаковка

Основные параметры

Функциональная группа Электронные компоненты
Функциональный тип Интегральные схемы
Типоразмер корпуса DIP14
Типоразмер корпуса отечественный Корпус 201.14-1
Материал корпуса пластмасса
Покрытие корпуса без покрытия
Материал выводов, контактов латунь
Покрытие выводов или контактов лужение
Метод монтажа пайка
Рабочее положение любое
Фактическая маркировка К155ЛА1
Цвет изделия коричневый
Габаритные размеры L*W*H 19,5х8х9 mm
Высота корпуса 4 mm
Длина выводов 6 mm

Технические характеристики

Напряжение питания 5 V
Входной ток низкого уровня не более -1,6 mA; высокого уровня не более 0,04 mA
Ток потребления при высоком уровне не более 4 mA, при низком уровне не более 11 mA
Время задержки распространения при включении 15 ns; при выключении 22 ns
Выходное напряжение низкого уровня не более 0,4 V; высокого уровня не менее 2,4 V

Условия эксплуатации

Интервал рабочих температур от -10 до +70°C

Оставить отзыв

Оценка:
              
Преимущества *
Недостатки *
Комментарий *
Ваше Имя *
Эл. почта *
Введите текст с картинки:
* Поля для обязательного заполнения
Отзыв будет опубликован после проверки модератором
Принимаем заказы на товары,
не вошедшие в каталог

Пришлите маркировку необходимого вам товара.
Мы предоставим Вам наилучшие условия по поставке!

Оформить заявку

Похожие товары

Артикул (ID): TB-9963
КМ155ЛА4 DIP14 Микросхема, бК0.348.244-ТУ1
  • 68 1 шт.
Артикул (ID): KK-03037
КМ 155 ЛП8|||1990|Азон|
  • 6.8 1 шт.
Артикул (ID): KK-03036
КМ 155 ЛП8|||1989|Азон|
  • 4.25 1 шт.
Артикул (ID): KK-03031
КМ 155 КП7|||1988|Транзистор|з/уп
  • 3.4 1 шт.
Артикул (ID): KT-4240
1554ЛП5ТБМ Микросхема, АЕЯР.431200.182-09ТУ
  • 2160 1 шт.
Артикул (ID): KT-4237
1554ЛА3ТБМ Микросхема, АЕЯР.431200.182-07ТУ
  • 2160 1 шт.
Артикул (ID): KT-4075
К155ИЕ7 DIP16 Микросхема, бК0.348.006-10ТУ.
  • 86 1 шт.
Артикул (ID): KT-4091
К155ИЕ8 DIP16 Микросхема, бК0.348.006-11ТУ.
  • 95 1 шт.
Артикул (ID): KT-4031
К155ЛР3 DIP14 Микросхема, бК0.348.006-01ТУ
  • 86 1 шт.
  • 77 от 5 шт.
Артикул (ID): KT-4000
К155ЛА2 DIP14 Микросхема, бК0.348.006-01ТУ
  • 104 1 шт.
Артикул (ID): ZA-7032
К155ИД1 Микросхема (201*г)
  • 428.22 1 шт.
  • 428.22 от 10 шт.
  • 428.22 от 100 шт.
Артикул (ID): KP-9584
К155ИЕ2 DIP14 Микросхема, бК0.348.006-04ТУ.
  • 95 1 шт.
Артикул (ID): KP-9581
К155ЛЕ5 DIP14 Микросхема
  • 41 1 шт.
Артикул (ID): KP-9577
К155ЛА8 DIP14 Микросхема.БКО 034.80. 06-01 ТУ
  • 86 1 шт.
  • 77 от 5 шт.
Артикул (ID): KP-9448
К155ЛН1 DIP14 Микросхема, бК0.348.006-13ТУ.
  • 86 1 шт.
  • 77 от 5 шт.

Недавно просмотренные товары

Принимаем к оплате
IP Electron в соцсетях