69 593 товаров в наличии и на заказ

Электронные компоненты и расходные материалы

$
Настройка отображения валюты
Полный каталог
Скидка на Резисторы переменные (Потенциометры)
-20%

К155ИЕ2 DIP14 Микросхема, бК0.348.006-04ТУ. (арт. KP-9584)

Микросхемы К155ИЕ2 представляют собой двоично-десятичные четырехразрядные счетчики. Каждая ИС состоит из четырех триггеров, внутренне соединенных для деления на 2 и 5. Может использоваться также в качестве делителя на 10. Изготовлены по ТТЛ технологии и предназначены для использования в радиоэлектронной аппаратуре общего назначения.
К155ИЕ2 К - буква, указывает на микросхему категории качества «ОТК», где К - для использования в аппаратуре народнохозяйственного назначения; 1 - цифра, указывает группу микросхемы по конструктивно-технологическому признаку,  полупроводниковая микросхема; 55 - цифры, определяют номер разработки конкретного типа исполнения. В совокупности второй и третий элементы обозначают номер серии; ИЕ - буквы,  обозначают подгруппу и вид функционального назначения микросхемы, где ИЕ - схемы цифровых устройств: счетчики; 2 - цифра определяет номер разработки микросхемы определённого функционального назначения в конкретной серии. Вся дополнительная информация находится во вложении на товар, см.

Подробнее
Заметили
ошибку ?
Сообщите нам

Общая информация

Наименование К155ИЕ2 DIP14 Микросхема, бК0.348.006-04ТУ.
Торговая марка завод «Азон», Баку
Страна происхождения СССР
ТУ бК0.348.006-04ТУ.
Вид приемки i "5"- ВП, ПЗ
Масса изделия, гр 0,91
Дата выпуска 1989
Наличие паспорта - этикетки нет
Транслитерация K155IE2 DIP14 Microcircuit, bK0.348.006-04TU.
Состояние упаковки самоупаковка

Основные параметры

Функциональная группа Электронные компоненты
Функциональный тип Интегральные схемы
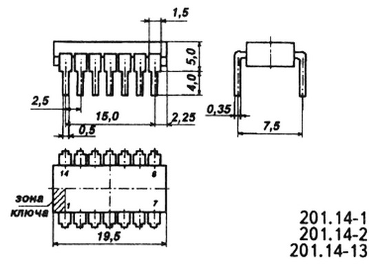
Типоразмер корпуса DIP14
Типоразмер корпуса отечественный 201.14-1
Материал корпуса пластмасса
Покрытие корпуса без покрытия
Материал выводов, контактов латунь
Покрытие выводов или контактов лужение
Метод монтажа пайка
Рабочее положение любое
Фактическая маркировка К155ИЕ2
Цвет изделия черный
Габаритные размеры L*W*H 19,5х8х9 mm
Высота корпуса 4 mm
Длина выводов 5 mm

Технические характеристики

Напряжение питания 5 V
Входной ток низкого уровня не более -1,6 mA; высокого уровня не более 0,04 mA
Ток потребления не более 53 mA
Время задержки распространения не более 100 ns
Выходное напряжение низкого уровня не более 0,4 V; высокого уровня не менее 2,4 V

Условия эксплуатации

Интервал рабочих температур от -10 до +70°C
Климатическое исполнениеi УХЛ

Оставить отзыв

Оценка:
              
Преимущества *
Недостатки *
Комментарий *
Ваше Имя *
Эл. почта *
Введите текст с картинки:
* Поля для обязательного заполнения
Отзыв будет опубликован после проверки модератором
Принимаем заказы на товары,
не вошедшие в каталог

Пришлите маркировку необходимого вам товара.
Мы предоставим Вам наилучшие условия по поставке!

Оформить заявку

Похожие товары

Артикул (ID): TB-9963
КМ155ЛА4 DIP14 Микросхема, бК0.348.244-ТУ1
  • 68 1 шт.
Артикул (ID): KK-03037
КМ 155 ЛП8|||1990|Азон|
  • 6.8 1 шт.
Артикул (ID): KK-03036
КМ 155 ЛП8|||1989|Азон|
  • 4.25 1 шт.
Артикул (ID): KK-03031
КМ 155 КП7|||1988|Транзистор|з/уп
  • 3.4 1 шт.
Артикул (ID): KT-4240
1554ЛП5ТБМ Микросхема, АЕЯР.431200.182-09ТУ
  • 2160 1 шт.
Артикул (ID): KT-4237
1554ЛА3ТБМ Микросхема, АЕЯР.431200.182-07ТУ
  • 2160 1 шт.
Артикул (ID): KT-4075
К155ИЕ7 DIP16 Микросхема, бК0.348.006-10ТУ.
  • 86 1 шт.
Артикул (ID): KT-4091
К155ИЕ8 DIP16 Микросхема, бК0.348.006-11ТУ.
  • 95 1 шт.
Артикул (ID): KT-4084
К155ЛА1 DIP14 Микросхема, бК0.348.006-01ТУ.
  • 86 1 шт.
  • 77 от 5 шт.
Артикул (ID): KT-4031
К155ЛР3 DIP14 Микросхема, бК0.348.006-01ТУ
  • 86 1 шт.
  • 77 от 5 шт.
Артикул (ID): KT-4000
К155ЛА2 DIP14 Микросхема, бК0.348.006-01ТУ
  • 104 1 шт.
Артикул (ID): ZA-7032
К155ИД1 Микросхема (201*г)
  • 428.22 1 шт.
  • 428.22 от 10 шт.
  • 428.22 от 100 шт.
Артикул (ID): KP-9581
К155ЛЕ5 DIP14 Микросхема
  • 41 1 шт.
Артикул (ID): KP-9577
К155ЛА8 DIP14 Микросхема.БКО 034.80. 06-01 ТУ
  • 86 1 шт.
  • 77 от 5 шт.
Артикул (ID): KP-9448
К155ЛН1 DIP14 Микросхема, бК0.348.006-13ТУ.
  • 86 1 шт.
  • 77 от 5 шт.

Недавно просмотренные товары

Принимаем к оплате
IP Electron в соцсетях