69 975 товаров в наличии и на заказ

Электронные компоненты и расходные материалы

$
Настройка отображения валюты
Полный каталог
Скидка на Конденсаторы
-20%

ТМ10-49 Трансформатор согласующий, ОЮ0.472.021ТУ (арт. ZT-875)

12; " 5" - ВП, ПЗ; No name Russia; трансформатор согласующий

Трансформатор согласующий ТМ10-49 маломощный низкой частоты.  Расшифровка маркировки: ТМ - сокращённое обозначение типа: Т - трансформатор, М - маломощный; 10 - номинальная мощность в милливаттах (мВт); 49 - порядковый номер разработки. Предназначен для согласования внутреннего сопротивления источника сигнала с входным сопротивлением каскадов УЗЧ в устройствах, выполненных совместно с ламповыми и полупроводниковыми приборами в диапазоне эффективно воспроизводимых частот 100...10000 Гц с неравномерностью частотной характеристики на граничных частотах не более 3дБ и коэффициентом нелинейных искажений не более 3%. Вся дополнительная информация находится во вложении на товар, см. pdf-файл.

Подробнее
Заметили
ошибку ?
Сообщите нам

Общая информация

Наименование ТМ10-49 Трансформатор согласующий, ОЮ0.472.021ТУ
Торговая марка No name Russia
Страна изготовления РОССИЯ
Нормы и требования ОЮ0.472.021ТУ, ГОСТ В 20.39.404-81
Вид приемки i "5"- ВП, ПЗ
Масса изделия, гр 18
Дата изготовленияi дата не указана
Наличие паспорта - этикетки нет
Транслитерация TM10-49 Matching transformer OY0.472.021TU
Состояние упаковки самоупаковка

Основные параметры

Функциональная группа трансформаторы
Функциональный тип трансформатор согласующий
Серия трансформатора ТМ
Тип магнитопровода броневой магнитопровод
Наличие радиатора без радиатора
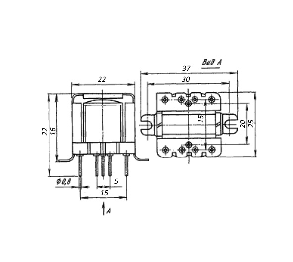
Установочные размеры 30 mm расстояние между монтажными отверстиями
Диаметр установочного отверстия 0,8 mm
Метод монтажа механический на панель, в плату
Метод монтажа электрический пайка
Тип крепления винтами, пайка
Габаритные размеры L*W*H 22х37х22 mm
Длина корпуса 22 mm
Ширина корпуса 25 mm
Высота корпуса 22 mm
Длина выводов 6 mm
Материал корпуса алюминиевый сплав
Покрытие корпуса корпус окрашен
Цвет корпуса зеленый
Фактическая маркировка ТМ10-49
Рабочее положение любое
Другие наименования преобразователь, статическое электромагнитное устройство…

Технические параметры

Номинальная мощность 0,01 V*A
Количество обмоток две обмотки
Напряжение первичной обмотки 13,6 V
Входное сопротивление 18048 Ω
Выходное сопротивление 9024 Ω
Индуктивность 14,3 µH
КПД 0,86%

Условия эксплуатации

Интервал рабочих температур от -60 до +125°C
Климатическое исполнениеi УХЛ
Минимальная наработка 10 000 час.
Относительная влажность 98% при температуре +40°С
Атмосферное давление 0,67 - 297 kPa
Загрузка...
Принимаем заказы на товары,
не вошедшие в каталог

Пришлите маркировку необходимого вам товара.
Мы предоставим Вам наилучшие условия по поставке!

Оформить заявку

Похожие товары

Артикул (ID): ZT-871
ТМ10-34 Трансформатор согласующий, ОЮ0.472.021ТУ
  • 428.22 1 шт.
  • 428.22 от 10 шт.
Артикул (ID): ZT-872
ТМ10-38 Трансформатор согласующий, ОЮ0.472.021ТУ
  • 342.57 1 шт.
  • 342.57 от 10 шт.
Артикул (ID): ZT-873
ТМ10-46 Трансформатор согласующий, ОЮ0.472.021ТУ
  • 228.39 1 шт.
  • 228.39 от 10 шт.
Артикул (ID): ZT-874
ТМ10-48 Трансформатор согласующий, ОЮ0.472.021ТУ
  • 342.57 1 шт.
  • 342.57 от 10 шт.
Артикул (ID): KP-8122
ТМ5-22 Трансформатор согласующий, ОЮ0.472.021ТУ
  • 1620 1 шт.
  • 1458 от 10 шт.
Артикул (ID): KK-15499
ТПР16-3В||5|2013|Стрела|
  • 255 1 шт.
Артикул (ID): BV-3618
ТОТ157 Трансформатор согласующий, ОЮ0.472.010ТУ
  • 265 1 шт.
Артикул (ID): BV-3619
ТОТ157 Трансформатор согласующий, ОЮ0.472.010ТУ.
  • 265 1 шт.
Артикул (ID): ZQ-3545
ОСМ1-0,4У3 Трансформатор силовой, ТУ16-717.137-83
  • 6100.01 1 шт.
Артикул (ID): KK-16496
ТЛ 6|||2026|Мстатор|W з/уп
  • 2890 1 шт.
Артикул (ID): KK-16497
ТР 117-220-400В||5|2012|Айнур|
  • 4760 1 шт.
Артикул (ID): KK-16498
ТР 117-220-400В||5|2014|Айнур|
  • 4760 1 шт.
Артикул (ID): CC-11873
Трансформатор VT-1051B
  • 14.93 1 шт.
Артикул (ID): CC-11875
Трансформатор BALF-SPI-01D3
  • 21.66 1 шт.
Артикул (ID): BV-9302
ТИМ199В Трансформатор импульсный, ОЮ0.472.045ТУ
  • 149.5 1 шт.
 
Принимаем к оплате
IP Electron в соцсетях