67 524 товаров в наличии и на заказ

Электронные компоненты и расходные материалы

$
Настройка отображения валюты
Полный каталог
Скидка на Конденсаторы
-20%

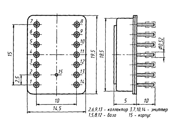
2ТС613Б Транзисторная сборка "5". (арт. KP-4441)

Транзисторные матрицы 2ТС613Б состоят из четырех электрически изолированных кремниевых эпитаксиально-планарных структуры n-p-n переключающих высокочастотных транзисторов. Предназначены для применения в быстродействующих импульсных и переключающих устройствах, различных каскадах вычислительных машин и другой радиоэлектронной аппаратуры. Выпускаются в металлостеклянном корпусе с гибкими выводами. Вся дополнительная информация находится во вложении на товар, см. pdf - файл.

Подробнее
Заметили
ошибку ?
Сообщите нам

Общая информация

Наименование 2ТС613Б Транзисторная сборка "5".
Торговая марка Завод ТРАНЗИСТОР, Минск
Страна происхождения СССР
ТУ Я53.456.000ТУ
Вид приемки i "5"- ВП, ПЗ
Масса изделия, гр 3,26
Дата выпуска 1989
Наличие паспорта - этикетки есть
Транслитерация Transistor 2TS613B
Состояние упаковки самоупаковка

Основные параметры

Функциональная группа Транзисторы
Функциональный тип биполярный
Фактическая маркировка 2ТС613Б
Габаритные размеры L*W*H 19,5х14,5х15 mm
Высота корпуса 5 mm
Тип вывода жесткий
Длина выводов 10 mm
Покрытие выводов или контактов луженые(олово)
Материал выводов, контактов (Ni) никель
Материал корпуса металлостеклянный
Метод монтажа THT (выводной)

Технические характеристики

Макс. обратный ток 10 µA
Макс. мощность рассеивания 0.8 W
Макс. допустимое напряжение эммитер-база Uэб 4 V
Макс. допустимое напряжение коллектор-база Uкб 60 V
Макс. допустимое напряжение коллектор-эмиттер Uкэ 50 V
Макс. допустимый постоянный ток коллектора 0,5 A
Статический коэффициент передачи тока 40-200
Структура n-p-n

Условия эксплуатации

Интервал рабочих температур от -60 до +125°C
Загрузка...
Принимаем заказы на товары,
не вошедшие в каталог

Пришлите маркировку необходимого вам товара.
Мы предоставим Вам наилучшие условия по поставке!

Оформить заявку

Похожие товары

Артикул (ID): ZK-5060
IRFP450 Транзистор
  • 106.74 1 шт.
  • 106.74 от 10 шт.
  • 106.74 от 100 шт.
Артикул (ID): KK-16676
2Т 819 А|||1992|Кремний|
  • 119 1 шт.
Артикул (ID): KK-16675
2Т 819 А|||1991|Кремний|
  • 119 1 шт.
Артикул (ID): ZM-2941
2Т827Б Транзистор, 200*г,
  • 579.75 1 шт.
  • 579.75 от 10 шт.
Артикул (ID): ZA-4580
2Т603А Транзистор
  • 658.8 1 шт.
  • 658.8 от 10 шт.
Артикул (ID): CC-12174
Транзистор DDA143TU-7-F
  • 8.18 1 шт.
Артикул (ID): CC-12172
Транзистор KSC2331
  • 1.12 1 шт.
Артикул (ID): CC-12171
Транзистор IRF360
  • 132.51 1 шт.
Артикул (ID): ZD-222
STGP19NC60HD Транзистор
  • 270.66 1 шт.
  • 270.66 от 10 шт.
  • 270.66 от 100 шт.
Артикул (ID): KK-16621
2Т 830 В|Au||2013|Кремний|копия пасп.
  • 306 1 шт.
Артикул (ID): KK-16620
2Т 664 А9|Ni||2020|Кремний|з/уп,на ленте
  • 289 1 шт.
Артикул (ID): KK-16619
КТ 502 А|||2000|Элекс|этик.+пасп.
  • 3.4 1 шт.
Артикул (ID): KK-16618
2Т 331 Б-1|||2008|Прохладный|копия этик.+пасп.
  • 44.2 1 шт.
Артикул (ID): CC-12054
Транзистор BC847B.215
  • 0.94 1 шт.
Артикул (ID): ZK-4710
SIHG20N50C-E3 Транзистор
  • 152.88 1 шт.
  • 152.88 от 10 шт.
  • 152.88 от 100 шт.

Недавно просмотренные товары

Принимаем к оплате
IP Electron в соцсетях