74 102 товаров в наличии и на заказ

Электронные компоненты и расходные материалы

$
Настройка отображения валюты
Полный каталог
Скидка на Конденсаторы
-20%

Уценка РГ1Н-1-4 Розетка щелевые контакты, карболит. бР0.364.013 ТУ (арт. BV-4327)

ОАО «Карачевский завод «Электродеталь»; 400 V; 3 A; " 1" - ОТК; нет кожуха; бР0.364.013 ТУ

Причина уценки: отсутствует крепеж. РГ1Н-1-4 Розетка щелевые контакты, карболит – низкочастотный прямоугольный соединитель миниатюрного типа. Структура условного обозначения: Р – соединитель низкочастотный для внутреннего монтажа, Г – гнездовой контакт (розетка), 1 – приборная часть соединителя, Н – низкочастотный, 1 – порядковый номер разработки, 4 – 12-контактная розетка, отсутствие буквы – покрытие контактов – серебро. Отсутствие буквы В – климатическое исполнение УХЛ. Предназначен для работы в электрических цепях постоянного, переменного (частотой до 3 МГц) и импульсного тока напряжением до 400 В. Вся дополнительная информация находится во вложении на товар, см. pdf – файл.

Подробнее
Заметили
ошибку ?
Сообщите нам

Общая информация

Наименование Уценка РГ1Н-1-4 Розетка щелевые контакты, карболит. бР0.364.013 ТУ
Код ТНВЭД 8536508008
Торговая марка ОАО «Карачевский завод «Электродеталь»
Страна изготовления СССР
Нормы и требования бР0.364.013 ТУ
Дата изготовленияi 1976-1991
Вид приемки i "1"- ОТК
Масса изделия, гр 3,67
Состояние упаковки самоупаковка
Транслитерация RG1N-1-4 Socket slot contacts, carbolite, "1"
Наличие паспорта - этикетки нет

Основные параметры

Функциональная группа соединители
Функциональный тип прямоугольные низкочастотные
Серия прямоугольных соединителей РГ1Н-1
Типономинал / Типоконструкция розетка
Количество контактов 12
Вид контактов щелевые
Размер контактов 0,5х2 mm
Материал контактов латунь
Покрытие контактов Ag (серебро)
Шаг между рядами контактов 2,8 mm
Шаг контактов в ряду 2,8 mm
Количество рядов контактов 2
Наличие зажима есть
Наличие ловителей нет ловителей
Наличие кожуха нет кожуха
Материал кожуха нет кожуха
Материал изолятора карболит
Цвет изолятора коричневый
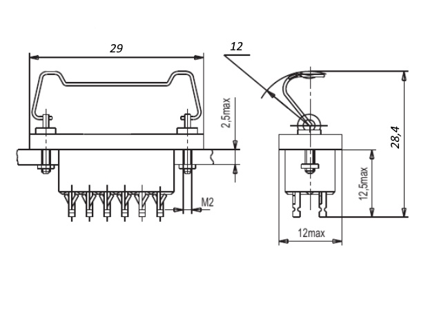
Длина изолятора 29 mm
Ширина изолятора 12 mm
Высота изолятора 10,9 mm
Габаритные размеры L*W*H 29х12х28,4 mm
Метод монтажа механический объемный монтаж
Метод монтажа электрический пайка
Установочные размеры 24,5 mm расстояние между монтажными отверстиями
Метод сочленения врубной
Взаимосочленение РШ2НМ-1-23; РШ2НМ-1-24
Рабочее положение любое
Фактическая маркировка отсутствует

Технические характеристики

Рабочее напряжение, max 400 V
Рабочий ток, max 3 A
Сопротивление контактов не более 10 mΩ
Сопротивление изоляции 5000 MΩ
- диапазон частот 1-5000 Hz
- амплитуда ускорения 40 g
Электрическая прочность изоляции 1680 V

Условия эксплуатации

Интервал рабочих температур от -60 до +90°C
Атмосферное давление 1х10⁻¹² мм.рт.ст.
Климатическое исполнениеi УХЛ
Относительная влажность 98% при температуре +35°С
Макс. срок хранения 20 лет
Ресурс 500 сочленений-расчленений
Минимальная наработка 15 000 час.

Оставить отзыв

Оценка:
              
Преимущества *
Недостатки *
Комментарий *
Ваше Имя *
Эл. почта *
Введите текст с картинки:
* Поля для обязательного заполнения
Отзыв будет опубликован после проверки модератором
Принимаем заказы на товары,
не вошедшие в каталог

Пришлите маркировку необходимого вам товара.
Мы предоставим Вам наилучшие условия по поставке!

Оформить заявку

Похожие товары

Артикул (ID): KL-6760
Уценка РГ1Н-2-23 Розетка щелевые контакты, карболит, ОЮ0.364.002ТУ
  • 30.6 1 шт.
  • 23.4 от 10 шт.
Артикул (ID): KK-16308
РГ1Н-1-4|карб.||1988||з/уп "Э"
  • 22.1 1 шт.
Артикул (ID): KK-16307
РГ1Н-1-4|карб.|5|1987|Электродеталь|
  • 25.5 1 шт.
Артикул (ID): KK-16306
РГ1Н-1-4|карб.||1987||б/зн.з-да
  • 22.1 1 шт.
Артикул (ID): KK-16305
РГ1Н-1-4|карб.||1985|Электродеталь|
  • 17 1 шт.
Артикул (ID): KK-15945
РГ1Н-2-27|карб.||1991|Электродеталь|с креп.,пасп.,кругл.
  • 561 1 шт.
Артикул (ID): KK-15944
РГ1Н-2-27|карб.||1991|Электродеталь|без креп.,пасп.,кругл.
  • 340 1 шт.
Артикул (ID): BV-4813
Уценка РШ2Н-1-5 Вилка ножевые контакты, карболит, бР0.364.013ТУ
Артикул (ID): BV-4770
РГ1Н-1-4П Розетка щелевые контакты, пластмасса, бР0.364.013ТУ
  • 95 1 шт.
  • 85 от 5 шт.
Артикул (ID): BV-4769
Уценка РГ1Н-1-3П Розетка щелевые контакты, пластмасса, бР0.364.013ТУ
  • 441 1 шт.
Артикул (ID): BV-4612
РГ1Н-3-5К Розетка щелевые контакты, карболит, НЩ0.364.069ТУ
  • 17 1 шт.
Артикул (ID): BV-2757
РШ2НМ-1-18-О Вилка ножевые контакты, карболит, бРО.364.013 ТУ
  • 113 1 шт.
Артикул (ID): KK-15259
РШ2Н-2-16|карб.||1991|Электродеталь|с ловителями
  • 680 1 шт.
Артикул (ID): KK-15258
РШ2Н-2-16|карб.||1990|Электродеталь|с ловителями
  • 680 1 шт.
Артикул (ID): KK-15257
РШ2Н-2-13|карб.||1984|Электродеталь|с ловителями
  • 246.5 1 шт.

Недавно просмотренные товары

Принимаем к оплате
IP Electron в соцсетях