66 898 товаров в наличии и на заказ

Электронные компоненты и расходные материалы

$
Настройка отображения валюты
Полный каталог
Скидка на Устройства защиты
-20%

Д243Б 5А 200В D05 Диод выпрямительный, 6341-053-07619062-08 ТУ (арт. BV-2280)

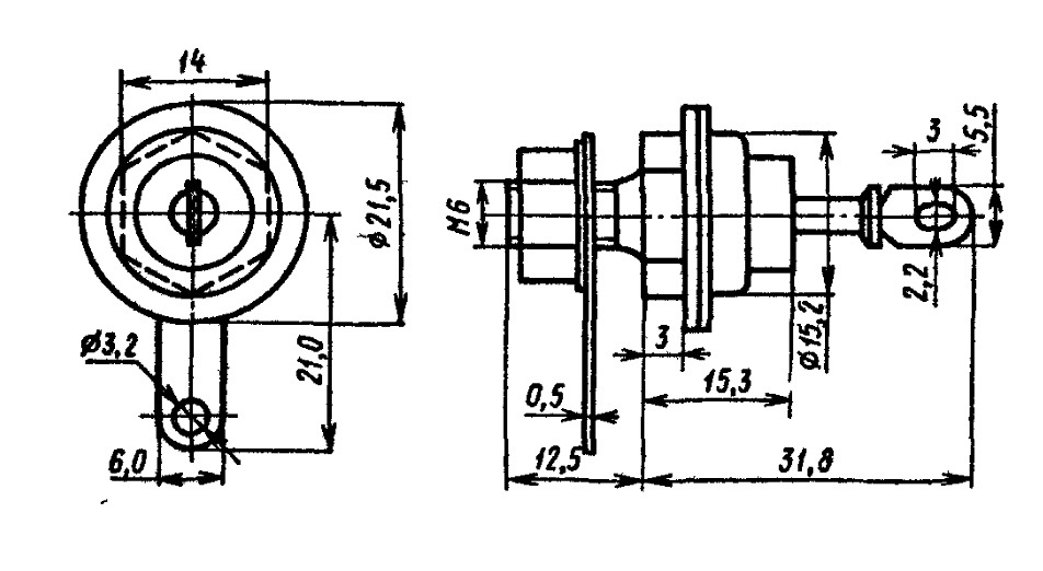
Выпрямительный диод  Д243Б кремниевый диффузионный предназначен для преобразования переменного напряжения частотой до 1,1 кГц. Выпускается в металлостеклянном корпусе с жесткими выводами. Максимальное постоянное обратное напряжение 200 В, максимальный прямой ток 5 А. Вся дополнительная информация находится во вложении на товар, см. pdf-файл.

Подробнее
Заметили
ошибку ?
Сообщите нам

Общая информация

Наименование Д243Б 5А 200В D05 Диод выпрямительный, 6341-053-07619062-08 ТУ
Торговая марка ООО «Саранский завод точных приборов»
Страна происхождения РОССИЯ
ТУ 6341-053-07619062-08 ТУ
Вид приемки i "1"- ОТК
Масса изделия, гр 15,79
Дата выпуска 2021
Наличие паспорта - этикетки нет
Транслитерация D243B 5A 200V D05 Rectifier Diode, 6341-053-07619062-08 TU
Состояние упаковки самоупаковка

Основные параметры

Функциональная группа Диод выпрямительный
Функциональный тип средней мощности
Фактическая маркировка Д243Б
Типоразмер корпуса DO5
Типоразмер корпуса отечественный КДЮ11-4
Тип вывода жесткий
Конструктивное исполнение штыревой
Материал корпуса металл
Метод монтажа Механический, в отверстие
Установочные размеры М6
Рабочее положение любое
Габаритные размеры L*W*H 21,5х21,5х44,3 mm
Высота корпуса 27,8 mm
Материал выводов, контактов латунь
Покрытие выводов или контактов лужение
Покрытие корпуса без покрытия

Технические характеристики

Рабочая частота 1,1 kHz
Максимальный прямой ток 5 А
Макс. обратный ток 3 mA
При I пр. 5 А
Макс. постоянное обратное напряжение 200 V
Макс. импульсное обратное напряжение 200 V
Макс. прямое напряжение 1,5 V

Условия эксплуатации

Минимальная наработка 25000 час.
Интервал рабочих температур от -60 до +130°C
Климатическое исполнениеi УХЛ

Оставить отзыв

Оценка:
              
Преимущества *
Недостатки *
Комментарий *
Ваше Имя *
Эл. почта *
Введите текст с картинки:
* Поля для обязательного заполнения
Отзыв будет опубликован после проверки модератором
Принимаем заказы на товары,
не вошедшие в каталог

Пришлите маркировку необходимого вам товара.
Мы предоставим Вам наилучшие условия по поставке!

Оформить заявку

Недавно просмотренные товары

Принимаем к оплате
IP Electron в соцсетях