70 765 товаров в наличии и на заказ

Электронные компоненты и расходные материалы

$
Настройка отображения валюты
Полный каталог
Скидка на Конденсаторы
-20%

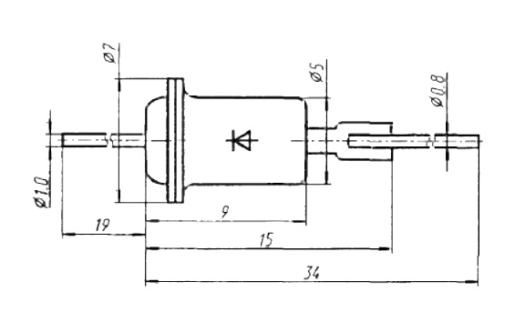
КС515А Стабилитрон, металл, (арт. OP-2477)

Стабилитроны КС515А кремниевые, планарные, средней мощности. Предназначены для стабилизации номинального напряжения 15 В в диапазоне токов стабилизации 1...53 мА. Используются для работы в электронной аппаратуре общего назначения. Расшифровка маркировки стабилитрона КС515А: К - кремниевый стабилитрон категории качества «ОТК»; С - стабилизаторы напряжения (стабилитроны, стабисторы, ограничители напряжения);  5 - стабилитроны или стабисторы мощностью от 0,3 до 5 Вт и номинальным напряжением стабилизации от 10 до 100 В; 15 - цифра, указывающая на номинальное напряжение стабилизации - 15 В; А - буквы от А до Я определяют последовательность разработки стабилитрона. Вся дополнительная информация находится во вложении на товар, см. pdf-файл.

Подробнее
Заметили
ошибку ?
Сообщите нам

Общая информация

Наименование КС515А Стабилитрон, металл,
Торговая марка НПП НЗПП с ОКБ (Новосибирск)
Страна происхождения СССР
ТУ 0.364.017 ТУ
Вид приемки i "1"- ОТК
Масса изделия, гр 0,75
Дата выпуска 1981
Наличие паспорта - этикетки нет
Транслитерация KS515A Zener Diode, Metal
Состояние упаковки самоупаковка

Основные параметры

Функциональная группа Полупроводниковый диод
Функциональный тип стабилитрон средней мощности
Фактическая маркировка КС515А
Типоразмер корпуса отечественный КД8
Тип вывода гибкий
Материал корпуса металлостеклянный
Метод монтажа объёмный
Рабочее положение любое
Габаритные размеры L*W*H 53х7х7 mm
Материал выводов, контактов латунь
Покрытие выводов или контактов лужение

Технические характеристики

Макс. мощность рассеивания 1 W
Минимальное напряжение стабилизации 13,5 V
Номинальное напряжение стабилизации 15 V
Максимальное напряжение стабилизации 16,5 V
Максимально допустимый ток стабилизации 53 mA
Напряжение стабилизации, от ... до 13,5...16,5 V
Дифференциальное сопротивление, не более 25 Ω

Условия эксплуатации

Минимальная наработка 10000 час.
Интервал рабочих температур от -60 до +125°C
Климатическое исполнениеi УХЛ

Оставить отзыв

Оценка:
              
Преимущества *
Недостатки *
Комментарий *
Ваше Имя *
Эл. почта *
Введите текст с картинки:
* Поля для обязательного заполнения
Отзыв будет опубликован после проверки модератором
Принимаем заказы на товары,
не вошедшие в каталог

Пришлите маркировку необходимого вам товара.
Мы предоставим Вам наилучшие условия по поставке!

Оформить заявку

Похожие товары

Недавно просмотренные товары

Принимаем к оплате
IP Electron в соцсетях