70 757 товаров в наличии и на заказ

Электронные компоненты и расходные материалы

$
Настройка отображения валюты
Полный каталог
Скидка на Конденсаторы
-20%

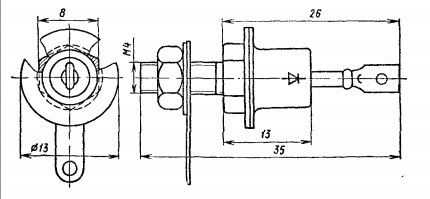
Д815Ж Стабилитрон, металл, аА0.336.545ТУ (арт. TF-1658)

Стабилитрон Д815Ж кремниевый, диффузионно-сплавный, средней мощности. Предназначен для стабилизации номинального напряжения 18 В в диапазоне токов стабилизации 25...450 мА. Корпус стабилитрона в рабочем режиме служит отрицательным электродом (катодом). Вся дополнительная информация находится во вложени на товар, см. pdf-файл.

Подробнее
Заметили
ошибку ?
Сообщите нам

Общая информация

Наименование Д815Ж Стабилитрон, металл, аА0.336.545ТУ
Торговая марка НЭВЗ СОЮЗ (Новосибирск)
Страна происхождения СССР
ТУ аА0.336.545ТУ
Вид приемки i "1"- ОТК
Масса изделия, гр 3,36
Дата выпуска 1987
Наличие паспорта - этикетки нет
Транслитерация D815J Zener diode, metal, AA0.336.545TU
Состояние упаковки самоупаковка
Комплектность без крепежа

Основные параметры

Функциональная группа Полупроводниковый диод
Функциональный тип стабилитрон средней мощности
Фактическая маркировка Д815Ж
Типоразмер корпуса отечественный КДЮ11-3
Тип вывода жесткий
Конструктивное исполнение штыревой
Метод монтажа THT (выводной)
Установочные размеры М4
Рабочее положение любое
Габаритные размеры L*W*H 13х13х35 mm
Материал выводов, контактов латунь
Покрытие выводов или контактов лужение

Технические характеристики

Макс. мощность рассеивания 8 W
Максимально допустимый ток стабилизации 450 mA
Напряжение стабилизации, от ... до 16,2...19,8 V
Дифференциальное сопротивление, не более 3 Ω

Условия эксплуатации

Интервал рабочих температур от -60 до +125°C

Оставить отзыв

Оценка:
              
Преимущества *
Недостатки *
Комментарий *
Ваше Имя *
Эл. почта *
Введите текст с картинки:
* Поля для обязательного заполнения
Отзыв будет опубликован после проверки модератором
Принимаем заказы на товары,
не вошедшие в каталог

Пришлите маркировку необходимого вам товара.
Мы предоставим Вам наилучшие условия по поставке!

Оформить заявку

Похожие товары

Недавно просмотренные товары

Принимаем к оплате
IP Electron в соцсетях