66 949 товаров в наличии и на заказ

Электронные компоненты и расходные материалы

$
Настройка отображения валюты
Полный каталог
Скидка на Устройства защиты
-20%

ОМЛТ-1W(Ватт) 56k Ω(кОм)±5% Резистор металлопленочный, ОЖ0.467.107ТУ (арт. SN-7528)

РЕОМ, Одесса; " 1" - ОТК

ОМЛТ-1Вт 56кОм±5% резистор постоянный, непроволочный, неизолированный. Структура условного обозначения: О – повышенная механическая прочность; М - металлопленочный; Л -  лакированный; Т -  теплостойкий; 1Вт – мощность рассеивания (Ватт); 56кОм – номинальное сопротивление, единицы измерения; ±5% - допустимое отклонение сопротивления. Резисторы ОМЛТ предназначены для работы в электрических цепях постоянного, переменного и импульсного токов. Резисторы ОМЛТ имеют такие же электрические параметры, как резисторы МЛТ. Дополнительный контроль технологических режимов и качества изделий в процессе производства обеспечивают резисторам ОМЛТ повышенную надежность при эксплуатации. Вся дополнительная информация находится во вложении на товар, см. pdf - файл.

Подробнее
Заметили
ошибку ?
Сообщите нам

Общая информация

Наименование ОМЛТ-1W(Ватт) 56k Ω(кОм)±5% Резистор металлопленочный, ОЖ0.467.107ТУ
Код ТНВЭД 8533100000
Торговая марка РЕОМ, Одесса
Страна изготовления СССР
Нормы и требования ОЖ0.467.107ТУ
Вид приемки i "1"- ОТК
Дата изготовленияi 1976-1991
Масса изделия, гр 1,18
Транслитерация OMLT-1W (Watt) 56 kΩ (kOhm) ± 5% Metal-film resistor, OZh0.467.107TU
Доупаковка картонная пластина
Состояние упаковки самоупаковка

Основные параметры

Функциональная группа Резистор постоянный
Функциональный тип резисторы металлопленочные
Серия резисторов ОМЛТ
Резистивный материал металлосилициевые сплавы
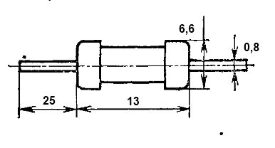
Габаритные размеры L*W*H 6,6х63 mm
Высота корпуса 13 mm
Диаметр корпуса 6,6 mm
Метод монтажа механический в плату
Метод монтажа электрический пайка
Вид выводов аксиальные проволочные
Количество выводов 2
Диаметр выводов 0,8 mm
Длина выводов 25 mm
Материал выводов Cu (медь)
Покрытие выводов лужение
Материал корпуса керамика, резистивная пленка
Покрытие корпуса покрашен (эмаль)
Цвет корпуса коричневый
Фактическая маркировка ОМЛТ-1 56К±5%
Рабочее положение любое
Аналогичные серии (О)МЛТ..., МТ…, С2-23…, С2-33…, C2-36....,MF...
Другие наименования резисторы металлизированными, металлодиэлектрические…

Технические характеристики

Номинальное сопротивление 56 kΩ
Допустимое отклонение ±5%
Пределы номинального сопротивления 1 Ω - 22 MΩ
Рабочее напряжение, max 500 V
Номинальная мощность 1 W
Уровень шумов 5 mkV/V
Температурный коэффициент сопротивления (ТКС) ±1200 (1х10⁻⁶)°С
Ряд сопротивления резисторов E24
Синусоидальная вибрация: :
- амплитуда ускорения 10 g
- диапазон частот 1-200 Hz
Механический удар многократное действие: длительность действия 2 - 15 ms
Механический удар многократное действие: пиковое ударное ускорение 15 g

Условия эксплуатации

Интервал рабочих температур от -60 до +125°C
Относительная влажность 98% при температуре +40°С
Атмосферное давление 666,61 - 383967,36 Pa
Климатическое исполнениеi В - всеклиматическое исполнение
Минимальный срок сохраняемости, лет 15
Минимальная наработка 25 000 час.

Оставить отзыв

Оценка:
              
Преимущества *
Недостатки *
Комментарий *
Ваше Имя *
Эл. почта *
Введите текст с картинки:
* Поля для обязательного заполнения
Отзыв будет опубликован после проверки модератором
Принимаем заказы на товары,
не вошедшие в каталог

Пришлите маркировку необходимого вам товара.
Мы предоставим Вам наилучшие условия по поставке!

Оформить заявку

Похожие товары

Артикул (ID): KL-6770
С2-23 0,125W(Ватт) 10 кОм±1% Резистор металлопленочный, ОЖ0.467.081ТУ
Артикул (ID): KL-6767
С2-23 0,125W(Ватт) 1кОм±1% Резистор металлопленочный, ОЖ0.467.081ТУ
Артикул (ID): KL-6765
С2-23 0,125W(Ватт) 130 Ом±1% Резистор металлопленочный, ОЖ0.467.081ТУ
Артикул (ID): KL-6764
С2-23 2W(Ватт) 8,2 Ом±5% Резистор металлопленочный, ОЖ0.467.104ТУ
Артикул (ID): TT-05851
82ом 5% MOF-3W металл оксидн. резистор M03R820JT
  • 3.9 1 шт.
Артикул (ID): TT-05850
82ком 5% MOF-3W металл оксидн. резистор M03R823JT
  • 3.9 1 шт.
Артикул (ID): TT-05849
820ом 5% MOF-3W металл оксидн. резистор M03R821JT
  • 3.9 1 шт.
Артикул (ID): TT-05848
8,2ом 5% MOF-3W металл оксидн. резистор M03R8R2JT
  • 3.9 1 шт.
Артикул (ID): TT-05847
8,2ком 5% MOF-3W металл оксидн. резистор M03R822JT
  • 3.9 1 шт.
Артикул (ID): TT-05846
75ом 5% MOF-3W металл оксидн. резистор M03R750JT
  • 3.9 1 шт.
Артикул (ID): TT-05845
75ком 5% MOF-3W металл оксидн. резистор M03R753JT
  • 3.9 1 шт.
Артикул (ID): TT-05844
7,5ком 5% MOF-3W металл оксидн. резистор M03R752JT
  • 3.9 1 шт.
Артикул (ID): TT-05843
68ом 5% MOF-3W металл оксидн. резистор M03R680JT
  • 3.9 1 шт.
Артикул (ID): TT-05842
680ом 5% MOF-3W металл оксидн. резистор M03R681JT
  • 3.9 1 шт.
Артикул (ID): TT-05841
680ком 5% MOF-3W металл оксидн. резистор M03R683JT
  • 3.9 1 шт.

Недавно просмотренные товары

Принимаем к оплате
IP Electron в соцсетях