67 057 товаров в наличии и на заказ

Электронные компоненты и расходные материалы

$
Настройка отображения валюты
Полный каталог
Скидка на Устройства защиты
-20%

ОМЛТ-0,125W(Ватт) 18k Ω(кОм) ±5% Резистор металлопленочный, ОЖ0.467.107ТУ (арт. SN-7062)

РЕОМ, Одесса; " 5" - ВП, ПЗ

ОМЛТ-0,125Вт 18кОм±5% резистор постоянный, непроволочный, неизолированный. Структура условного обозначения: О – повышенная механическая прочность; М - металлопленочный; Л -  лакированный; Т -  теплостойкий; 0,125Вт – мощность рассеивания (Ватт); 18кОм – номинальное сопротивление, единицы измерения; ±5% - допустимое отклонение сопротивления. Резисторы ОМЛТ предназначены для работы в электрических цепях постоянного, переменного и импульсного токов. Резисторы ОМЛТ имеют такие же электрические параметры, как резисторы МЛТ. Дополнительный контроль технологических режимов и качества изделий в процессе производства обеспечивают резисторам ОМЛТ повышенную надежность при эксплуатации. Вся дополнительная информация находится во вложении на товар, см. pdf - файл.

Подробнее
Заметили
ошибку ?
Сообщите нам

Общая информация

Наименование ОМЛТ-0,125W(Ватт) 18k Ω(кОм) ±5% Резистор металлопленочный, ОЖ0.467.107ТУ
Код ТНВЭД 8533100000
Торговая марка РЕОМ, Одесса
Страна изготовления СССР
Нормы и требования ОЖ0.467.107ТУ
Вид приемки i "5"- ВП, ПЗ
Дата изготовленияi 1976-1991
Масса изделия, гр 0,09
Транслитерация OMLT-0.125W(Watt) 18kΩ(kOhm) ±5% Metal-film resistor, OZh0.467.107TU
Вид упаковки картонная коробка (500шт)
Доупаковка картонная пластина
Состояние упаковки заводская

Основные параметры

Функциональная группа Резистор постоянный
Функциональный тип резисторы металлопленочные
Серия резисторов ОМЛТ
Резистивный материал металлосилициевые сплавы
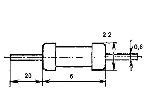
Габаритные размеры L*W*H 2,2х46 mm
Высота корпуса 6 mm
Диаметр корпуса 2,2 mm
Метод монтажа механический в плату
Метод монтажа электрический пайка
Вид выводов аксиальные проволочные
Количество выводов 2
Диаметр выводов 0,6 mm
Длина выводов 20 mm
Материал выводов Cu (медь)
Покрытие выводов лужение
Материал корпуса керамика, резистивная пленка
Покрытие корпуса покрашен (эмаль)
Цвет корпуса коричневый
Фактическая маркировка 18К JBXW1
Рабочее положение любое
Аналогичные серии (О)МЛТ..., МТ…, С2-23…, С2-33…, C2-36....,MF...
Другие наименования резисторы металлизированными, металлодиэлектрические…

Технические характеристики

Номинальное сопротивление 18 kΩ
Допустимое отклонение ±5%
Пределы номинального сопротивления 8,2 Ω - 3 MΩ
Рабочее напряжение, max 200 V
Номинальная мощность 0,125 W
Уровень шумов 5 mkV/V
Температурный коэффициент сопротивления (ТКС) ±1200 (1х10⁻⁶)°С
Ряд сопротивления резисторов E24; E96
Синусоидальная вибрация: :
- амплитуда ускорения 18 g
- диапазон частот 5-600 Hz
Механический удар многократное действие: длительность действия 2 - 10 ms
Механический удар многократное действие: пиковое ударное ускорение 40 g

Условия эксплуатации

Интервал рабочих температур от -60 до +125°C
Относительная влажность 98% при температуре +35°С
Атмосферное давление 666,61 - 383967,36 Pa
Климатическое исполнениеi В - всеклиматическое исполнение
Минимальный срок сохраняемости, лет 25
Минимальная наработка 25 000 час.

Оставить отзыв

Оценка:
              
Преимущества *
Недостатки *
Комментарий *
Ваше Имя *
Эл. почта *
Введите текст с картинки:
* Поля для обязательного заполнения
Отзыв будет опубликован после проверки модератором
Принимаем заказы на товары,
не вошедшие в каталог

Пришлите маркировку необходимого вам товара.
Мы предоставим Вам наилучшие условия по поставке!

Оформить заявку

Похожие товары

Артикул (ID): KL-6770
С2-23 0,125W(Ватт) 10 кОм±1% Резистор металлопленочный, ОЖ0.467.081ТУ
Артикул (ID): KL-6767
С2-23 0,125W(Ватт) 1кОм±1% Резистор металлопленочный, ОЖ0.467.081ТУ
Артикул (ID): KL-6765
С2-23 0,125W(Ватт) 130 Ом±1% Резистор металлопленочный, ОЖ0.467.081ТУ
Артикул (ID): KL-6764
С2-23 2W(Ватт) 8,2 Ом±5% Резистор металлопленочный, ОЖ0.467.104ТУ
Артикул (ID): TT-05851
82ом 5% MOF-3W металл оксидн. резистор M03R820JT
  • 4.05 1 шт.
Артикул (ID): TT-05850
82ком 5% MOF-3W металл оксидн. резистор M03R823JT
  • 4.05 1 шт.
Артикул (ID): TT-05849
820ом 5% MOF-3W металл оксидн. резистор M03R821JT
  • 4.05 1 шт.
Артикул (ID): TT-05848
8,2ом 5% MOF-3W металл оксидн. резистор M03R8R2JT
  • 4.05 1 шт.
Артикул (ID): TT-05847
8,2ком 5% MOF-3W металл оксидн. резистор M03R822JT
  • 4.05 1 шт.
Артикул (ID): TT-05846
75ом 5% MOF-3W металл оксидн. резистор M03R750JT
  • 4.05 1 шт.
Артикул (ID): TT-05845
75ком 5% MOF-3W металл оксидн. резистор M03R753JT
  • 4.05 1 шт.
Артикул (ID): TT-05844
7,5ком 5% MOF-3W металл оксидн. резистор M03R752JT
  • 4.05 1 шт.
Артикул (ID): TT-05843
68ом 5% MOF-3W металл оксидн. резистор M03R680JT
  • 4.05 1 шт.
Артикул (ID): TT-05842
680ом 5% MOF-3W металл оксидн. резистор M03R681JT
  • 4.05 1 шт.
Артикул (ID): TT-05841
680ком 5% MOF-3W металл оксидн. резистор M03R683JT
  • 4.05 1 шт.

Недавно просмотренные товары

Принимаем к оплате
IP Electron в соцсетях