70 734 товаров в наличии и на заказ

Электронные компоненты и расходные материалы

$
Настройка отображения валюты
Полный каталог
Скидка на Конденсаторы
-20%

МЛТ-1 1W(Ватт) 33 Ω(Ом)±5% Резистор металлопленочный, ОЖ0.467.180ТУ (арт. KP-9993)

No name USSR; " 1" - ОТК

МЛТ-1Вт 33Ом±5% резистор постоянный, непроволочный, неизолированный. Структура условного обозначения: М - металлопленочный; Л -  лакированный; Т -  теплостойкий; 1Вт – мощность рассеивания (Ватт); 33Ом – номинальное сопротивление, единицы измерения; ±5% - допустимое отклонение сопротивления. Резисторы МЛТ предназначены для работы в электрических цепях постоянного, переменного и импульсного токов. Вся дополнительная информация находится во вложении на товар, см. pdf - файл.

Подробнее
Заметили
ошибку ?
Сообщите нам

Общая информация

Наименование МЛТ-1 1W(Ватт) 33 Ω(Ом)±5% Резистор металлопленочный, ОЖ0.467.180ТУ
Код ТНВЭД 8533100000
Торговая марка No name USSR
Страна изготовления СССР
Нормы и требования ОЖ0.467.180ТУ
Вид приемки i "1"- ОТК
Дата изготовленияi 1976-1991
Масса изделия, гр 1,14
Транслитерация MLT-1 1W (Watt) 33Ω (Ohm) ±5% Metal-film resistor, OZh0.467.180TU
Состояние упаковки самоупаковка

Основные параметры

Функциональная группа Резистор постоянный
Функциональный тип резисторы металлопленочные
Серия резисторов МЛТ
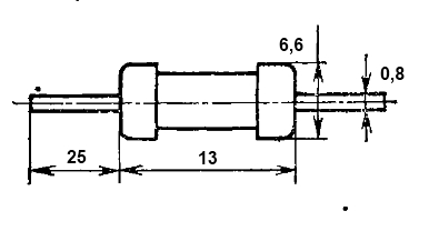
Габаритные размеры L*W*H 6,6х63 mm
Высота корпуса 13 mm
Диаметр корпуса 6,6 mm
Метод монтажа механический в плату
Метод монтажа электрический пайка
Вид выводов аксиальные проволочные
Количество выводов 2
Диаметр выводов 0,8 mm
Длина выводов 25 mm
Материал выводов Cu (медь)
Покрытие выводов лужение
Материал корпуса керамика, резистивная пленка
Резистивный материал металлосилициевые сплавы
Покрытие корпуса покрашен (эмаль)
Цвет корпуса коричневый
Фактическая маркировка МЛТ-1 33ЕИ
Рабочее положение любое
Аналогичные серии (О)МЛТ..., МТ…, С2-23…, С2-33…, C2-36....,MF...
Другие наименования резисторы металлизированными, металлодиэлектрические…

Технические характеристики

Номинальное сопротивление 33 Ω
Допустимое отклонение ±5%
Пределы номинального сопротивления 1 Ω - 22 MΩ
Рабочее напряжение, max 500 V
Номинальная мощность 1 W
Уровень шумов 5 mkV/V
Температурный коэффициент сопротивления (ТКС) ±1200 (1х10⁻⁶)°С
Ряд сопротивления резисторов E24
Температурный коэффициент сопротивления (ТКС) ±1200 (1х10⁻⁶)°С
Синусоидальная вибрация: :
- амплитуда ускорения 10 g
- диапазон частот 1-200 Hz
Механический удар многократное действие: длительность действия 2 - 15 ms
Механический удар многократное действие: пиковое ударное ускорение 15 g

Условия эксплуатации

Интервал рабочих температур от -60 до +125°C
Относительная влажность 98% при температуре +25°С
Атмосферное давление от 106700 до 303974 Pa
Климатическое исполнениеi УХЛ
Минимальный срок сохраняемости, лет 15

Оставить отзыв

Оценка:
              
Преимущества *
Недостатки *
Комментарий *
Ваше Имя *
Эл. почта *
Введите текст с картинки:
* Поля для обязательного заполнения
Отзыв будет опубликован после проверки модератором
Принимаем заказы на товары,
не вошедшие в каталог

Пришлите маркировку необходимого вам товара.
Мы предоставим Вам наилучшие условия по поставке!

Оформить заявку

Похожие товары

Артикул (ID): CC-12327
Резистор проволочный выводной С5-16МВ 8Вт 0,51 Ом 5%
  • 6.64 1 шт.
Артикул (ID): CC-12326
Резистор постоянный выводной MF-1WS 10K 5% (уменьшенный)
  • 0.3 1 шт.
Артикул (ID): CC-12325
Резистор постоянный выводной 0,5WS 62R 5%
  • 0.6 1 шт.
Артикул (ID): CC-12324
Резистор постоянный выводной 2WS 24К 1% (уменьш)
  • 5.9 1 шт.
Артикул (ID): CC-12323
Резистор постоянный выводной MOF 2WS 39R 5% (уменьш)
  • 1.09 1 шт.
Артикул (ID): CC-12322
Резистор постоянный выводной MOF 1W 33R 5%
  • 1.34 1 шт.
Артикул (ID): CC-12195
Резистор пост-й выводной 2Вт (РФ) МЛТ-2W 7,5M 10%
  • 2.03 1 шт.
Артикул (ID): CC-12194
Резистор пост-й выводной 2Вт (РФ) МЛТ-2W 6,2M 5%
  • 1.76 1 шт.
Артикул (ID): CC-12193
Резистор пост-й выводной 2Вт (РФ) МЛТ-2W 8,2M 10%
  • 1.76 1 шт.
Артикул (ID): CC-12192
Резистор постоянный выводной 0,25W 200R 5% / CF14R201JT
  • 0.34 1 шт.
Артикул (ID): CC-12191
Резистор постоянный выводной 1K 1W 5% / MOR01SJ0102A10
  • 3.35 1 шт.
Артикул (ID): CC-12190
Резистор постоянный выводной 0,25WS 130K 5% small
  • 0.11 1 шт.
Артикул (ID): CC-12189
Резистор постоянный выводной 0,25W 9,1K 5%
  • 0.29 1 шт.
Артикул (ID): CC-12188
Резистор постоянный выводной 0,25W 16K 5%
  • 0.24 1 шт.
Артикул (ID): CC-12069
Резистор металлопленочный MF200J820RT
  • 7.17 1 шт.

Недавно просмотренные товары

Принимаем к оплате
IP Electron в соцсетях