- Срок отгрузки со склада 1 день (в наличии)
- Дата выпуска 1990
- Кратность отгрузки 1
- Гарантийный срок (мес.) 1
- Вид приемки "1"- ОТК
- ТУ -
ошибку ? Сообщите нам
67 524 товаров в наличии и на заказ
Электронные компоненты и расходные материалы
Принимаем звонки c 09:00 до 17:00 по Мск с понедельника по пятницу.
9:00–17:00 понедельник - пятница часы работы отдела заказов
| Наименование | К500ИЕ137 DIP16 Микросхема |
| Торговая марка |
Микрон, Зеленоград
|
| Страна происхождения |
|
|---|---|
| Вид приемки i | "1"- ОТК |
| Масса изделия, гр | 1,03 |
| Дата выпуска | 1990 |
| Наличие паспорта - этикетки | нет |
| Транслитерация | Microcircuit K500IE136 |
| Состояние упаковки | самоупаковка |
| Функциональная группа | Электронные компоненты |
| Функциональный тип | Интегральные схемы |
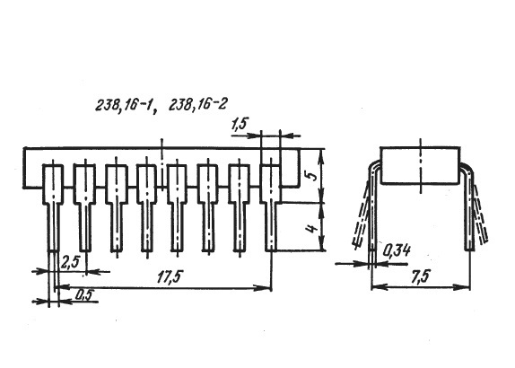
| Типоразмер корпуса | DIP16 |
| Типоразмер корпуса отечественный | 402.16-6 |
| Материал корпуса | пластмасса |
| Покрытие корпуса | без покрытия |
| Материал выводов, контактов | латунь |
| Покрытие выводов или контактов | лужение |
| Метод монтажа | пайка |
| Рабочее положение | любое |
| Фактическая маркировка | К500ИЕ137 |
| Цвет изделия | черный |
| Габаритные размеры L*W*H | 21x9x9 |
| Высота корпуса | 4 mm |
| Длина выводов | 6 mm |
| Напряжение питания | -5,2 V |
| Входной ток | высокого уровня не более 220 µA |
| Ток потребления | не более -150 mA |
| Время задержки распространения | 1 ... 4,5 ns |
| Выходное напряжение | низкого уровня не менее -1,63 V; высокого уровня не менее - 0,98 V |
Пришлите маркировку необходимого вам товара.
Мы предоставим Вам наилучшие условия по поставке!
Подпишись на рассылку, получай свежую информацию
по продажам, новостям, акциям