70 085 товаров в наличии и на заказ

Электронные компоненты и расходные материалы

$
Настройка отображения валюты
Полный каталог
Скидка на Конденсаторы
-20%

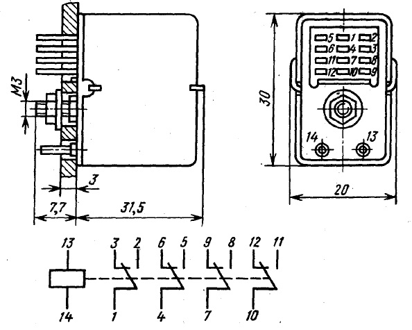
РЭС22 РФ4.523.023-0801 4 перекл. 30VDC Реле. РХ0.450.006 ТУ (арт. BV-3644)

Реле РЭС22 РФ4.523.023-08.01 электромагнитное слаботочное низкочастотное, двухпозиционное, одностабильное, с четырьмя переключающими контактами. Предназначено для коммутации электрических цепей постоянного и переменного тока. Расшифровка условного обозначения РЭС22 РФ4.523.023-08.01: РЭС - реле электромагнитное неполяризованное слаботочное низкочастотное; 22 - порядковый номер разработки; РФ4.523.023-08 - исполнение (паспорт) реле в зависимости от электрических параметров, режимов коммутации и конструктивных особенностей; 01 - категория качества «ВП». Вся дополнительная информация находится во вложении на товар, см. pdf – файл

Подробнее
Заметили
ошибку ?
Сообщите нам

Общая информация

Наименование РЭС22 РФ4.523.023-0801 4 перекл. 30VDC Реле. РХ0.450.006 ТУ
Торговая марка ОАО «Реле», Стародуб
Страна изготовления РОССИЯ
Вид приемки i "5"- ВП, ПЗ
Масса изделия, гр 32,99
Транслитерация res22-rf4.523.023-0801-4-perekl.-30vdc-rele.
Наличие паспорта - этикетки нет
Вид упаковки картонная коробка (10шт)
Состояние упаковки заводская

Основные характеристики

Функциональная группа электромагнитное слаботочное
Функциональный тип нейтральное
Исполнение РФ4.523.023-0801
Длина выводов 7,7 mm
Габаритные размеры L*W*H 29х18х37 mm
Покрытие корпуса зачехленный
Длина корпуса 29 mm
Ширина корпуса 18 mm
Высота корпуса 30 mm
Фактическая маркировка РЭС22 РФ4.523.023-08.01
Рабочее положение любое

Технические характеристики

Номинальное напряжение 30 VDC
Сопротивление обмоток 700±105 Ω
Ток срабатывания 21 mA
Ток отпускания 3 mA
Время срабатывания 15 ms
Время отпускания 8 ms

Условия эксплуатации

Интервал рабочих температур от -60 до +85°C
Климатическое исполнениеi УХЛ
Относительная влажность 98% при температуре +35°С
Атмосферное давление 0,6 - 104 kPa
Минимальный срок сохраняемости, лет 12 лет
Загрузка...
Принимаем заказы на товары,
не вошедшие в каталог

Пришлите маркировку необходимого вам товара.
Мы предоставим Вам наилучшие условия по поставке!

Оформить заявку

Недавно просмотренные товары

Принимаем к оплате
IP Electron в соцсетях