67 665 товаров в наличии и на заказ

Электронные компоненты и расходные материалы

$
Настройка отображения валюты
Полный каталог
Скидка на Конденсаторы
-20%

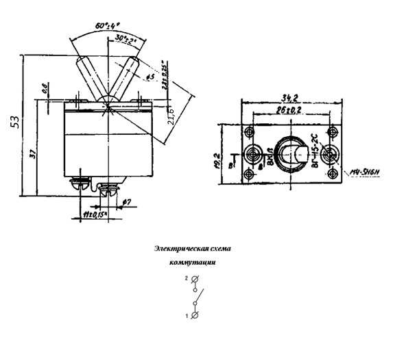
ВГ-15К-2C off-on, 15A(Ампер) 27V(Вольт) Тумблер однополюсный, винт, 7Ш0.360.000ТУ. (арт. OP-1501)

15 AA; 27 VV; off-on; SPST NO; 7Ш0.360.000ТУ

ВГ-15К-2С Тумблер однополюсный - выключатель герметизированный мгновенного действия. Предназначен для коммутации электрических цепей постоянного тока с активной и индуктивной нагрузками. Структура условного обозначения: ВГ – выключатель герметизированный однополюсный; 15 – условная характеристика; К - для установки в кабинах с красным освещением; 2С – вторая серия. Используется для работы в качестве переключателей в авиационной технике в составе бортового радиотехнического оборудования. Вся дополнительная информация находится во вложении на товар, см. pdf - файл.

Подробнее
Заметили
ошибку ?
Сообщите нам

Общая информация

Наименование ВГ-15К-2C off-on, 15A(Ампер) 27V(Вольт) Тумблер однополюсный, винт, 7Ш0.360.000ТУ.
Торговая марка Алатырский завод «Электроавтомат», г. Алатырь
Страна изготовления СССР
Нормы и требования 7Ш0.360.000ТУ
Дата изготовленияi 1976-1991
Вид приемки i "1"- ОТК
Масса изделия, гр 40,2
Наличие паспорта - этикетки нет
Транслитерация VG-15K-2C off-on, 15A(Amp) 27V(Volt) Single-pole toggle switch, screw
Доупаковка промасленная бумага
Состояние упаковки самоупаковка

Основные параметры

Функциональная группа Переключатели
Функциональный тип тумблер ручного управления
Серия переключателя ВГ-15К
Число полюсов однополюсный
Наличие фиксации есть фиксация
Наличие индикации (цвет) нет индикации
Количество положений 2 положения
Электрическая схема контактовi SPST NO
Электрическая схема коммутации полож.1 (-); пол. 2 (1-2)
Алгоритм работыi off-on
Метод монтажа механический на панель, крепление корпуса винтовое
Метод монтажа электрический под винт (клемма кольцевая или вилочная)
Контакты контакты под винт/клемму
Материал контактов латунь
Покрытие контактов Ag (серебро)
Установочные размеры 26 mm расстояние между монтажными отверстиями
Диаметр установочного отверстия 4,5 mm
Материал корпуса карболит
Покрытие корпуса без покрытия
Цвет корпуса коричневый, черный
Цвет толкателя серый
Материал ручки(кнопки)-толкателя металл
Вид исполнения ручки ручка обычная (длина 23 mm)
Наличие протектора нет
Габаритные размеры L*W*H 34,2х19,2х59 mm
Длина корпуса 34,2 mm
Ширина корпуса 19,2 mm
Высота корпуса 33 mm
Дополнительные характеристики герметизированный
Фактическая маркировка ВГ-15К-2С
Рабочее положение любое
Другие наименования переключатель, переключатель перекидной, пакетный переключатель, тумблер...
Аналогичные серии ВНГ..., ВК57...

Технические характеристики

Номинальный ток 15 A
Номинальное напряжение 27 V
Допустимая перегрузка по току 30 A
Усилие или момент переключения 6,9 - 24,5 N

Условия эксплуатации

Интервал рабочих температур от -60 до +60°С
Климатическое исполнениеi О - общеклиматическое исполнение
Относительная влажность 98% при температуре +40°С
Макс. срок хранения 8 лет
Ресурс 25000 переключений
Загрузка...
Принимаем заказы на товары,
не вошедшие в каталог

Пришлите маркировку необходимого вам товара.
Мы предоставим Вам наилучшие условия по поставке!

Оформить заявку

Похожие товары

Артикул (ID): SN-1857
ВК26А2(П20-А2) on-off, 2A(Ампер) 12V(Вольт) Тумблер однополюсный, винт.
  • 94 1 шт.
  • 87 от 10 шт.
Артикул (ID): SN-3142
ВНГ-15 off-(on), 15A(Ампер) 27V(Вольт) Тумблер однополюсный, винт, 7ШО.360.000ТУ
  • 128 1 шт.
  • 123 от 10 шт.
Артикул (ID): OP-1679
П2Т-19 on-off-on, 6A(Ампер) 250V(Вольт) Тумблер двухполюсный, пайка, ВТ0.360.002ТУ
  • 293 1 шт.
Артикул (ID): OP-1720
STM-202 on-on, 3А(Ампер) 250V(Вольт) Микротумблер двухполюсный, пайка, RUICHI
Артикул (ID): OP-1500
ВК57 (4607.3710) on-off, 15A(Ампер) 12V(Вольт) Тумблер однополюсный, винт.
Артикул (ID): TN-2625
MTS-123 (on)-off-(on), 3А(Ампер) 250V(Вольт) Микротумблер однополюсный, пайка, RUICHI
Артикул (ID): TN-262
ВГ-15-2C off-on, 15A(Ампер) 27V(Вольт) Тумблер однополюсный, винт, 7Ш0.360.000ТУ
Артикул (ID): KK-16604
МТ1|карб.|9|1988|Белово|с креп.
  • 306 1 шт.
Артикул (ID): KK-16605
ПТ57-7-3В||5|1991|Смоленск|с креп.
  • 969 1 шт.
Артикул (ID): BV-6884
Уценка ВН-45 off-(on), 35A(Ампер) 27V(Вольт) Тумблер однополюсный, винт, аналог
  • 235 1 шт.
  • 217 от 10 шт.
Артикул (ID): ZS-6891
KN3(C)-201P on-off Тумблер
  • 72.81 1 шт.
  • 72.81 от 10 шт.
  • 72.81 от 100 шт.
Артикул (ID): ZR-0245
2В-45 20А/27В Тумблер
  • 840 1 шт.
  • 840 от 10 шт.
Артикул (ID): CC-12002
Тумблер ПТ24В
  • 1422.97 1 шт.
Артикул (ID): KK-16666
ПТ25-2В|карб.|5|1992|Смоленск|
  • 799 1 шт.

Недавно просмотренные товары

Принимаем к оплате
IP Electron в соцсетях