74 092 товаров в наличии и на заказ

Электронные компоненты и расходные материалы

$
Настройка отображения валюты
Полный каталог
Скидка на Конденсаторы
-20%

С5-36В 50W(Ватт) 1,5k Ω(кОм)±5% Резистор постоянный с регулировкой. (арт. SN-4631)

" 1" - ОТК; No name USSR; радиальное; ОЖ0.467.551 ТУ, ГОСТ 2825-67

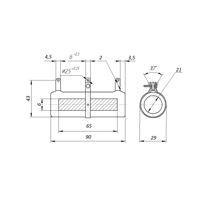
С5-36В 50W(Ватт) 4,7kΩ(кОм)±5% Резистор постоянный с регулировкой, проволочный, нагрузочный, влагостойкий. Структура условного обозначения: С5-36В – тип резистора (C – Сопротивление (резистор), 5 – Проволочное исполнение, 36 – Переменный резистор общего назначения, В – Влагостойкий); 50 - номинальная мощность: 50W(Ватт); 4.7kΩ – номинальное сопротивление (кОм), ±5% - допустимое отклонение сопротивления от номинального. Конструкция резистора обеспечивает возможность изменения сопротивления перемещением хомутика. Для монтажа используется комплект крепления, соответствующий типоразмеру резистора (при необходимости заказывается отдельно). Предназначен для работы в цепях постоянного и переменного тока. Вся дополнительная информация находится во вложении на товар, см. pdf - файл.

Подробнее
Заметили
ошибку ?
Сообщите нам

Общая информация

Наименование С5-36В 50W(Ватт) 1,5k Ω(кОм)±5% Резистор постоянный с регулировкой.
Торговая марка No name USSR
Страна изготовления СССР
Нормы и требования ОЖ0.467.551 ТУ, ГОСТ 2825-67
Дата изготовленияi 1976-1991
Вид приемки i "1"- ОТК
Масса изделия, гр 110
Наличие паспорта - этикетки нет
Состояние упаковки самоупаковка
Транслитерация S5-36V 50W(Watt) 1,5kΩ(Ohm)±5% Constant resistor with adjustment

Основные параметры

Функциональная группа Резисторы постоянные
Функциональный тип резисторы проволочные мощные
Серия резисторов С5-36В
Габаритные размеры L*W*H 90х29х43 mm
Длина корпуса 90 mm
Диаметр корпуса 29 mm
Наличие регулировки есть
Материал резистивного элемента проволока
Расположение выводов радиальное
Вид выводов пластинчатые
Материал выводов латунь
Покрытие выводов лужение
Количество выводов 3
Расстояние между выводами 70 mm
Материал корпуса керамика
Покрытие корпуса кремнийорганика
Цвет корпуса зеленый
Метод монтажа механический на крепление
Метод монтажа электрический пайка
Фактическая маркировка С5-36В 50 1,5кОм±5%
Рабочее положение любое

Технические характеристики

Единицы измерения сопротивления kΩ (кОм)
Номинальное сопротивление 1,5 kΩ
Пределы номинального сопротивления 18 Ω - 51 kΩ
Номинальная мощность 50 W
Рабочее напряжение, max 1400 VDC; 1000 VAC
ТКС - температурный коэффициент сопротивления ±500×10⁻⁶/1°C
Допустимое отклонение ±5%
Сопротивление изоляции 1000 MΩ
- диапазон частот 10-1000 Hz
- амплитуда ускорения 200 m/c²
- ударное ускорение 5000 m/c²
- ударное ускорение 5000 m/c²

Условия эксплуатации

Интервал рабочих температур от -60 до +155°С
Минимальная наработка 10 000 час.
Минимальный срок сохраняемости, лет 12
Климатическое исполнениеi В - всеклиматическое исполнение
Относительная влажность 98% при температуре +35°С
Атмосферное давление 5-2280 мм рт.ст.

Полные аналоги

ПЭВР-50 50W(Ватт) 1,5kΩ(кОм)±5% Резистор постоянный с регулировкой,1991 г., фото
Артикул (ID): TK-9777
ПЭВР-50 50W(Ватт) 1,5kΩ(кОм)±5% Резистор постоянный с регулировкой,1991 г.
  • 590 1 шт.
ПЭВР-50Вт 1,5кОм±5% ОАО "Алагирский Завод Сопротивления", фото
ПЭВР-50Вт 1,5кОм±5% ОАО "Алагирский Завод Сопротивления"
ПЭВР-50Вт 1,5кОм±5% АО "Кермет", фото
ПЭВР-50Вт 1,5кОм±5% АО "Кермет"
ПЭВР-50Вт 1,5кОм±5% (аналог) RUICHI, фото
ПЭВР-50Вт 1,5кОм±5% (аналог) RUICHI

Функциональные аналоги

ПЭВР-50 50W(Ватт) 1,8kΩ(кОм)±5% Резистор постоянный с регулировкой, фото
Артикул (ID): TN-3461
ПЭВР-50 50W(Ватт) 1,8kΩ(кОм)±5% Резистор постоянный с регулировкой
  • 590 1 шт.
  • 550 от 5 шт.
DSR-F 50W 1K5 J HKFC Industrial, фото
DSR-F 50W 1K5 J HKFC Industrial
ПЭВР-50Вт 1,5кОм±10% АО "Кермет", фото
ПЭВР-50Вт 1,5кОм±10% АО "Кермет"
С5-36 50Вт 1,5кОм±10% ОАО "Алагирский Завод Сопротивления", фото
С5-36 50Вт 1,5кОм±10% ОАО "Алагирский Завод Сопротивления"

Возможные аналоги

ПЭВ-50 50W(Ватт) 1,6kΩ(кОм)±5% Резистор постоянный, фото
Артикул (ID): TN-1367
ПЭВ-50 50W(Ватт) 1,6kΩ(кОм)±5% Резистор постоянный
  • 257 1 шт.
  • 239 от 5 шт.
HS50 1K5 J Ohmite, фото
HS50 1K5 J Ohmite
AHA50AJB-1K5 Yageo, фото
AHA50AJB-1K5 Yageo
THS501R5J TE, фото
THS501R5J TE
HSA501K5J TE, фото
HSA501K5J TE
KAL50FB1K50 Stackpole Electronics Inc, фото
KAL50FB1K50 Stackpole Electronics Inc
TMC0501R500FE02 	Vishay Dale, фото
TMC0501R500FE02 Vishay Dale
Загрузка...
Принимаем заказы на товары,
не вошедшие в каталог

Пришлите маркировку необходимого вам товара.
Мы предоставим Вам наилучшие условия по поставке!

Оформить заявку

Похожие товары

Артикул (ID): TC-71
ПЭВР-25 25W(Ватт) 510Ω(Ом)±5% Резистор постоянный с регулировкой.
  • 390 1 шт.
  • 350 от 5 шт.
Артикул (ID): SN-9289
С5-36В 100W(Ватт) 1,5kΩ(кОм)±5% Резистор постоянный с регулировкой, "5"
  • 790 1 шт.
Артикул (ID): SN-4651
С5-36В 100W(Ватт) 1,5kΩ(кОм)±5% Резистор постоянный с регулировкой
  • 790 1 шт.
Артикул (ID): TN-1400
ПЭВР-50 50W(Ватт) 200Ω(Ом)±5% Резистор постоянный с регулировкой,
Артикул (ID): KP-2034
ПЭВР-50 50W(Ватт) 1,5kΩ(кОм)±5% Резистор постоянный с регулировкой, 2023 г.
  • 590 1 шт.
  • 550 от 5 шт.
Артикул (ID): TT-06106
1,5ом 5% CR-YC 50W проволочный резистор, цементный CR-YC50R1R5J
  • 76.53 1 шт.
Артикул (ID): TT-06107
3,3ом 5% CR-YC 50W проволочный резистор, цементный CR-YC50R3R3J
  • 76.53 1 шт.
Артикул (ID): ZR-6591
RX27-1 (SQP10) 10W(Ватт) 68Ω(Ом)±5% Резистор постоянный
  • 12.63 1 шт.
  • 12.63 от 10 шт.
  • 12.63 от 100 шт.
Артикул (ID): CC-12582
Резистор постоянный мощный RX27-1 3 Ом 5W 5% / SQP5
  • 6.8 1 шт.
Артикул (ID): ZR-5295
С5-35В 25W(Ватт) 160Ω(Ом)±10% Резистор постоянный
  • 148.46 1 шт.
  • 148.46 от 10 шт.
Артикул (ID): ZO-3495
С5-35В 80Вт 430Ом Резистор
  • 396.75 1 шт.
Артикул (ID): TT-08666
200ом 5% CRL-10W проволочный резистор, цементный AXIAL вывод CR-L10R201JP
Артикул (ID): KL-6787
С5-35В 100 Ватт 120 Ом±5% Резистор постоянный.ОЖ0 467.551 ТУ
Артикул (ID): KL-6794
ПЭВ-75 75 Ватт 130 Ом±5% Резистор постоянный. ОЖ0 467.576 ТУ
Артикул (ID): KL-6804
С5-35В 75 Ватт 130 Ом±5% Резистор постоянный, ОЖ0 467.541 ТУ

Недавно просмотренные товары

Принимаем к оплате
IP Electron в соцсетях