74 064 товаров в наличии и на заказ

Электронные компоненты и расходные материалы

$
Настройка отображения валюты
Полный каталог
Скидка на Конденсаторы
-20%

ПЭВР-100 100W(Ватт) 82 Ω(Ом)±5% Резистор постоянный с регулировкой (арт. TN-6779)

" 1" - ОТК; Алагирский завод сопротивлений, Северная Осетия; радиальное; ОЖ0.467.576 ТУ, ГОСТ 2825-67

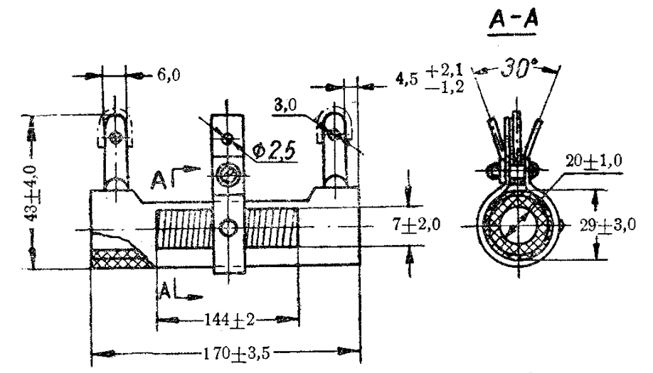
ПЭВР-100 100W(Ватт) 82Ω(Ом)±5% Резистор постоянный с регулировкой, проволочный, нагрузочный, влагостойкий. Структура условного обозначения: ПЭВР – тип резистора (П – проволочный, Э – эмалированный, В – влагостойкий, Р – регулируемый); 100 - номинальная мощность: 100W(Ватт); 82Ω – номинальное сопротивление (Ом), ±5% - допустимое отклонение сопротивления от номинального. Конструкция резистора обеспечивает возможность изменения сопротивления перемещением хомутика. Для монтажа используется комплект крепления, соответствующий типоразмеру резистора (при необходимости заказывается отдельно). Предназначен для работы в цепях постоянного и переменного тока. Вся дополнительная информация находится во вложении на товар, см. pdf - файл

Подробнее
Заметили
ошибку ?
Сообщите нам

Общая информация

Наименование ПЭВР-100 100W(Ватт) 82 Ω(Ом)±5% Резистор постоянный с регулировкой
Торговая марка Алагирский завод сопротивлений, Северная Осетия
Страна изготовления СССР
Нормы и требования ОЖ0.467.576 ТУ, ГОСТ 2825-67
Дата изготовленияi 1976-1991
Вид приемки i "1"- ОТК
Масса изделия, гр 200
Наличие паспорта - этикетки нет
Вид упаковки картонная коробка
Доупаковка бумага
Состояние упаковки упаковка вскрыта
Транслитерация PEVR-100 100W(Watt) 82Ω(Ohm)±5% Constant resistor with adjustment

Основные параметры

Функциональная группа Резисторы постоянные
Функциональный тип резисторы проволочные мощные
Серия резисторов ПЭВР
Группа резисторов (в зависимости от условий эксплуатации) II
Габаритные размеры L*W*H 170х43х28 mm
Длина корпуса 170 mm
Диаметр корпуса 28 mm
Конструктивные особенности влагостойкий, трубчатый
Наличие регулировки есть
Материал резистивного элемента проволока
Расположение выводов радиальное
Вид выводов пластинчатые
Материал выводов латунь
Покрытие выводов лужение
Количество выводов 3
Расстояние между выводами 155 mm
Материал корпуса керамика
Покрытие корпуса стеклоэмаль
Цвет корпуса зеленый
Метод монтажа механический на крепление
Метод монтажа электрический пайка
Фактическая маркировка ПЭВР-100 82 Ом±5%
Рабочее положение любое

Технические характеристики

Единицы измерения сопротивления Ω (Ом)
Номинальное сопротивление 82 Ω
Пределы номинального сопротивления 47 Ω - 2,7 kΩ
Номинальная мощность 100 W
Рабочее напряжение, max 1400 VDC; 1000 VAC
ТКС - температурный коэффициент сопротивления ±500×10⁻⁶/1°C
Допустимое отклонение ±5%
Сопротивление изоляции 1000 MΩ
- диапазон частот 5-600 Hz
- амплитуда ускорения 10 g
- ударное ускорение 35 g
- ударное ускорение 35 g

Условия эксплуатации

Интервал рабочих температур от -60 до +155°С
Минимальная наработка 10 000 час.
Минимальный срок сохраняемости, лет 12
Относительная влажность 98% при температуре +35°С
Атмосферное давление 5-2280 мм рт.ст.

Полные аналоги

С5-36 100Вт 82Ом±5% ОАО "Алагирский Завод Сопротивления", фото
С5-36 100Вт 82Ом±5% ОАО "Алагирский Завод Сопротивления"
С5-36В 100Вт 82Ом±5% АО "Кермет", фото
С5-36В 100Вт 82Ом±5% АО "Кермет"
С5-36 100Вт 82Ом±5% (аналог) RUICHI, фото
С5-36 100Вт 82Ом±5% (аналог) RUICHI

Функциональные аналоги

ПЭВР-100 100W(Ватт) 100Ω(Ом)±5% Резистор постоянный с регулировкой, фото
Артикул (ID): TN-6767
ПЭВР-100 100W(Ватт) 100Ω(Ом)±5% Резистор постоянный с регулировкой
  • 790 1 шт.
С5-36 100Вт 82Ом±10% ОАО "Алагирский Завод Сопротивления", фото
С5-36 100Вт 82Ом±10% ОАО "Алагирский Завод Сопротивления"
С5-36 100Вт 100Ом±5% ОАО "Алагирский Завод Сопротивления", фото
С5-36 100Вт 100Ом±5% ОАО "Алагирский Завод Сопротивления"
ПЭВР-100Вт 82Ом±10%  АО "Кермет", фото
ПЭВР-100Вт 82Ом±10% АО "Кермет"
DSR-F 100W 82R J HKFC Industrial, фото
DSR-F 100W 82R J HKFC Industrial

Возможные аналоги

С5-35В 100W(Ватт) 82Ω(Ом)±10% Резистор постоянный, фото
Артикул (ID): TN-7883
С5-35В 100W(Ватт) 82Ω(Ом)±10% Резистор постоянный
  • 790 1 шт.
ПЭВ-100 100W(Ватт) 82Ω(Ом)±10% Резистор постоянный, фото
Артикул (ID): TN-7210
ПЭВ-100 100W(Ватт) 82Ω(Ом)±10% Резистор постоянный
ПЭВ-100Вт 82Ом±5% АО "Кермет", фото
ПЭВ-100Вт 82Ом±5% АО "Кермет"
С5-35В 100Вт 82Ом±5%  ОАО "Алагирский Завод Сопротивления", фото
С5-35В 100Вт 82Ом±5% ОАО "Алагирский Завод Сопротивления"
AHA10BJB-82R Yageo, фото
AHA10BJB-82R Yageo
HSC10082RJ TE, фото
HSC10082RJ TE
Загрузка...
Принимаем заказы на товары,
не вошедшие в каталог

Пришлите маркировку необходимого вам товара.
Мы предоставим Вам наилучшие условия по поставке!

Оформить заявку

Похожие товары

Артикул (ID): TN-3533
ПЭВР-100 100W(Ватт) 1kΩ(кОм)±5% Резистор постоянный с регулировкой
  • 790 1 шт.
  • 750 от 5 шт.
Артикул (ID): TN-2294
ПЭВР-100 100W(Ватт) 620Ω(Ом)±5% Резистор постоянный с регулировкой.
Артикул (ID): TW-9720
ПЭВР-100 100W(Ватт) 1,6kΩ(кОм)±5% Резистор постоянный с регулировкой
  • 790 1 шт.
  • 750 от 5 шт.
Артикул (ID): TN-5517
ПЭВР-100 100W(Ватт) 330Ω(Ом)±5% Резистор постоянный с регулировкой
  • 790 1 шт.
  • 750 от 5 шт.
Артикул (ID): TP-4954
ПЭВР-100 100W(Ватт) 47Ω(Ом)±10% Резистор постоянный с регулировкой.
  • 790 1 шт.
  • 750 от 5 шт.
Артикул (ID): TT-06103
8,2ком 5% CRL-20W проволочный резистор, цементный AXIAL вывод CR-L20R822JP
  • 35.7 1 шт.
Артикул (ID): TT-06104
8,2ом 5% CRL-20W проволочный резистор, цементный AXIAL вывод CR-L20R8R2JP
  • 35.7 1 шт.
Артикул (ID): TT-06105
1,0ом 5% CR-YC 50W проволочный резистор, цементный CR-YC50R1R0J
  • 76.53 1 шт.
Артикул (ID): TT-06106
1,5ом 5% CR-YC 50W проволочный резистор, цементный CR-YC50R1R5J
  • 76.53 1 шт.
Артикул (ID): TT-06107
3,3ом 5% CR-YC 50W проволочный резистор, цементный CR-YC50R3R3J
  • 76.53 1 шт.
Артикул (ID): ZR-6591
RX27-1 (SQP10) 10W(Ватт) 68Ω(Ом)±5% Резистор постоянный
  • 12.63 1 шт.
  • 12.63 от 10 шт.
  • 12.63 от 100 шт.
Артикул (ID): CC-12582
Резистор постоянный мощный RX27-1 3 Ом 5W 5% / SQP5
  • 6.78 1 шт.
Артикул (ID): ZR-5295
С5-35В 25W(Ватт) 160Ω(Ом)±10% Резистор постоянный
  • 148.46 1 шт.
  • 148.46 от 10 шт.
Артикул (ID): ZO-3495
С5-35В 80Вт 430Ом Резистор
  • 396.75 1 шт.
Артикул (ID): TT-08666
200ом 5% CRL-10W проволочный резистор, цементный AXIAL вывод CR-L10R201JP

Недавно просмотренные товары

Принимаем к оплате
IP Electron в соцсетях