68 363 товаров в наличии и на заказ

Электронные компоненты и расходные материалы

$
Настройка отображения валюты
Полный каталог
Скидка на Конденсаторы
-20%

К174УН14 Микросхема, "1", бКО.348.824ТУ (арт. TN-1202)

Микросхема К174УН14 представляет  собой усилитель  мощности  низкой  частоты  с  номинальной  выходной мощностью  4,5  Вт  на  нагрузке  4  Ом.  Усилитель  имеет  встроенную
тепловую  защиту  и  защиту  от  коротких  замыканий  на  выходе. Корпус  типа  1501Ю.5-1.К174УН14 К - буква, указывает на микросхему категории качества «ОТК»-  для использования в аппаратуре народнохозяйственного назначения; 1 - цифра, указывает группу микросхемы по конструктивно-технологическому признаку- полупроводниковая микросхема; 74 - цифры, определяют номер разработки конкретного типа исполнения. В совокупности второй и третий элементы обозначают номер серии; УН - буквы,  обозначают подгруппу и вид функционального назначения микросхемы- усилители низкой частоты; 14 - цифра определяет условный номер разработки микросхемы в данной серии по определённому функциональному признаку. Вся дополнительная информация находится во вложении на товар, см. pdf – файл.

Подробнее
Заметили
ошибку ?
Сообщите нам

Общая информация

Наименование К174УН14 Микросхема, "1", бКО.348.824ТУ
Торговая марка ОАО ОРБИТА (Саранск)
Страна происхождения СССР
ТУ бКО.348.824ТУ
Вид приемки i "1"- ОТК
Масса изделия, гр 2
Дата выпуска 1987-1989
Наличие паспорта - этикетки нет
Транслитерация K174UN14 Microcircuit, "1"
Состояние упаковки самоупаковка

Основные параметры

Функциональный тип УНЧ
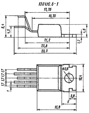
Типоразмер корпуса отечественный 1501Ю.5-1
Материал корпуса пластмасса
Рабочее положение любое
Цвет изделия черный
Габаритные размеры L*W*H 26х10х5 mm
Длина корпуса 9 mm
Ширина корпуса 10 mm
Высота корпуса 5 mm
Количество выводов или контактов 5

Технические характеристики

Напряжение питания не более 16,5 V
Входное напряжение 42 mV

Условия эксплуатации

Интервал рабочих температур от -10 до +60°C
Загрузка...
Принимаем заказы на товары,
не вошедшие в каталог

Пришлите маркировку необходимого вам товара.
Мы предоставим Вам наилучшие условия по поставке!

Оформить заявку

Недавно просмотренные товары

Принимаем к оплате
IP Electron в соцсетях