69 571 товара в наличии и на заказ

Электронные компоненты и расходные материалы

$
Настройка отображения валюты
Полный каталог
Скидка на Резисторы переменные (Потенциометры)
-20%

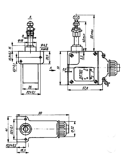
ДП-702 10А 27В Путевой (концевой) выключатель, 7ШЗ.603.006ТУ(арт. BV-4470)

Выключатели ДП702 концевые одноцепевые мгновенного действия с двойным разрывом цепи контактов. Предназначены для коммутации для коммутации электрических цепей постоянного тока при напряжении не более 30 В и силе тока до 10 А. Используются для работы в качестве концевых выключателей для коммутации электрических цепей постоянного и переменного тока в системах управления и сигнализации. Расшифровка условного обозначения ДП702: ДП - обозначение типа выключателя концевого; 702 - условные обозначение исполнения и электрических характеристик. Вся дополнительная информация находится во вложении на товар, см. pdf-файл.

Подробнее
Заметили
ошибку ?
Сообщите нам

Общая информация

Наименование ДП-702 10А 27В Путевой (концевой) выключатель, 7ШЗ.603.006ТУ
Торговая марка No name USSR
Страна происхождения СССР
ТУ 7ШЗ.603.006ТУ
Вид приемки i "1"- ОТК
Масса изделия, гр 190
Дата выпуска дата не указана
Транслитерация DP-702 5A 27V Track (limit) switch 7SHZ.603.006TU
Наличие паспорта - этикетки нет
Состояние упаковки самоупаковка

Основные параметры

Функциональная группа Выключатели концевые
Типономинал / Типоконструкция с 1 замыкающим и 1 размыкающим контактами
Наличие индикации (цвет) нет
Метод монтажа навесной
Фактическая маркировка ДП702
Цвет изделия черный
Габаритные размеры L*W*H 106х41х90 mm
Длина изделия 106 mm
Ширина изделия 41 mm
Высота изделия 90 mm
Материал корпуса металл
Материал ручки(кнопки)-толкателя металл
Установочные размеры 32 mm расстояние между монтажными отверстиями

Технические характеристики

Номинальное напряжение 24 - 29,4 V
Номинальный ток 0,2 - 10 A

Условия эксплуатации

Интервал рабочих температур от -60 до +60°С
Относительная влажность 98% при температуре +35°С
Макс. срок хранения 8 лет
Ресурс 6000 переключений
Климатическое исполнениеi О - общеклиматическое исполнение
Срок отгрузки со склада 1 день (в наличии)
Загрузка...
Принимаем заказы на товары,
не вошедшие в каталог

Пришлите маркировку необходимого вам товара.
Мы предоставим Вам наилучшие условия по поставке!

Оформить заявку

Похожие товары

Артикул (ID): TN-4932
HL-5200 5A 250V Конечный (концевой) выключатель
Артикул (ID): TN-3276
AZ-7120 10A 250V Конечный (концевой) выключатель
  • 144 1 шт.
Артикул (ID): OO-3282
AZ-7100 10A 250V Конечный (концевой) выключатель
  • 168 1 шт.
  • 155 от 10 шт.
Артикул (ID): CC-01904
Путевой выключатель KZ-8166 (TZ-8166) Al+Zinc
  • 324.08 1 шт.
Артикул (ID): CC-01905
Путевой выключатель HL-5030
  • 529.83 1 шт.
Артикул (ID): CC-01906
Путевой выключатель AZ-7144
  • 195.36 1 шт.
Артикул (ID): ZR-0114
KZ-8108 (TZ-8108) 5A 250V Конечный (концевой) выключатель (Al).
  • 305.27 1 шт.
  • 305.27 от 10 шт.
  • 305.27 от 100 шт.
Артикул (ID): ZR-0098
AZ-7311 10A 250V Конечный (концевой) выключатель.
  • 212.01 1 шт.
  • 212.01 от 10 шт.
  • 212.01 от 100 шт.
Артикул (ID): BV-3147
ВП15К-21Б111-54 У2.1 10А 660 VAC 440 VDC Конечный (концевой) выключатель. ТУ 16-526.470-80
  • 495 1 шт.
Артикул (ID): ZR-0118
KZ-8122 (TZ-8122) 5A 250V Конечный (концевой) выключатель Al+Zinc
  • 245.67 1 шт.
  • 245.67 от 10 шт.
  • 245.67 от 100 шт.
Артикул (ID): ZP-6324
3SE3 100-1D Конечный (концевой) выключатель
  • 218.52 1 шт.
  • 218.52 от 10 шт.
  • 218.52 от 100 шт.
Артикул (ID): ZP-6331
3SE3 100-1E Конечный (концевой) выключатель
  • 181.7 1 шт.
  • 181.7 от 10 шт.
  • 181.7 от 100 шт.
Артикул (ID): ZR-0120
KZ-8169 (TZ-8169) 5A 250V Конечный (концевой) выключатель(Al+Zinc).
  • 236.22 1 шт.
  • 236.22 от 10 шт.
  • 236.22 от 100 шт.
Артикул (ID): ZR-0159
ВПК2010 (аналог) Конечный (концевой) выключатель
  • 197.16 1 шт.
  • 197.16 от 10 шт.

Недавно просмотренные товары

Принимаем к оплате
IP Electron в соцсетях