58 991 товара в наличии и на заказ

Электронные компоненты и расходные материалы

$
Настройка отображения валюты
Полный каталог
Скидка на  Переключатели галетные
-20%

В200-7 200A 700V Диод силовой, ТУ 16-529.765-73(арт. TF-1868)

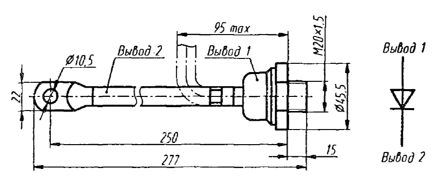
Диод силовой В200-7 полупроводниковый, низкочастотный,  кремниевый, диффузионный.   Предназначен для работы в  электротехнических и радиоэлектронных устройствах общего назначения в цепях статических преобразователей электроэнергии. Расшифровка условного обозначения: В200-7 В - диод; 200 - максимально допустимый средний прямой ток в амперах; 7 - класс по повторяющемуся импульсному обратному напряжению-700V. Вся дополнительная информация находится во вложении на товар, см. pdf - файл.

Подробнее
Заметили
ошибку ?
Сообщите нам

Общая информация

Наименование В200-7 200A 700V Диод силовой, ТУ 16-529.765-73
Торговая марка ОАО Электровыпрямитель, Саранск
Страна происхождения СССР
ТУ ТУ 16-529.765-73
Вид приемки i "1"- ОТК
Масса изделия, гр 395
Дата выпуска 1977-1983
Наличие паспорта - этикетки нет
Транслитерация V200-7 200A 700V Power diode, TU 16-529.765-73
Состояние упаковки самоупаковка

Основные параметры

Функциональная группа Диод силовой
Функциональный тип прибор штыревого исполнения
Фактическая маркировка В200-7
Тип вывода гибкий
Конструктивное исполнение штыревой
Полярность обратная
Метод монтажа В охладитель
Установочные размеры М20х1,5
Рекомендуемые охладители О171-80
Рабочее положение любое
Габаритные размеры L*W*H 45,5х277mm
Ширина корпуса 45,5 mm
Высота корпуса 277 mm

Технические характеристики

Рабочая частота 2 kHz
Максимальное время восстановления 15 µs
Максимальный прямой ток 200 А
Макс. импульсное обратное напряжение 700 V

Условия эксплуатации

Минимальная наработка 87000 час.
Интервал рабочих температур от -60 до 140°C
Климатическое исполнениеi УХЛ
Загрузка...
Принимаем заказы на товары,
не вошедшие в каталог

Пришлите маркировку необходимого вам товара.
Мы предоставим Вам наилучшие условия по поставке!

Оформить заявку

Похожие товары

Артикул (ID): TF-1890
В200-5 200A 500V Диод силовой, ТУ 16-529.765-73
  • 1000 1 шт.
Артикул (ID): TF-1873
В200-6 200A 600V Диод силовой, ТУ 16-529.765-73
  • 1000 1 шт.
Артикул (ID): ZT-6348
ВЛ50-10 50A 1000V Диод силовой.
  • 1275.26 1 шт.
  • 1275.26 OZON.
Артикул (ID): ZT-7033
ДЛ161-200-16 200A 1600V Диод силовой, аналог
  • 2427.07 1 шт.
  • 2022.56 от 10 шт.
  • 2022.56 от 100 шт.
  • 2427.07 OZON.
Артикул (ID): ZT-7017
Д141-100-18 100A 1800V Диод силовой, аналог
  • 1432.22 1 шт.
  • 1193.52 от 10 шт.
  • 1193.52 от 100 шт.
  • 1432.22 OZON.
Артикул (ID): ZT-7019
Д151-160-16 160A 1600V Диод силовой, аналог
  • 1940.36 1 шт.
  • 1616.97 от 10 шт.
  • 1940.36 OZON.
Артикул (ID): ZM-8402
ДЛ161-200-16 200A 1600V Диод силовой, 2020г
  • 5189.76 1 шт.
  • 5189.76 OZON.
Артикул (ID): TB-9133
ВЧ2-200-9 200A(Ампер) 900V(Вольт) Диод силовой, ТУ 16-529.917-75
  • 790 1 шт.
  • 790 OZON.
Артикул (ID): TB-9131
ВЧ2-160-9 160A(Ампер) 900V(Вольт) Диод силовой, ТУ 16-529.917-75
  • 730 1 шт.
  • 730 OZON.
Артикул (ID): TB-9125
Д141-100-11 100А 1100V Диод силовой, ТУ16-2006 ИЕАЛ.432000.058 ТУ
  • 750 1 шт.
  • 750 OZON.
Артикул (ID): TB-9085
Уценка В50-12 50A 1200V Диод силовой, ТУ 16-529.765-73
  • 290 1 шт.
  • 290 OZON.
Артикул (ID): ZT-6635
Д161-250-14 250A 1400V Диод силовой,. (200*г)
  • 3888 1 шт.
  • 3888 OZON.
Артикул (ID): ZT-6296
В800-16 + охл. О-343 800A 1600V Диод силовой
  • 10886.4 1 шт.
  • 10886.4 OZON.
Артикул (ID): ZM-1130
ДЛ171-320-16 320A 1600V Диод силовой, аналог
  • 3718.66 1 шт.
  • 3098.88 от 10 шт.
Артикул (ID): ZM-6672
Д161-200Х-16 200A 1600V Диод силовой, аналог.
  • 2377.62 1 шт.
  • 1981.35 от 10 шт.
  • 2377.62 OZON.

Недавно просмотренные товары

Принимаем к оплате
IP Electron в соцсетях