58 964 товаров в наличии и на заказ

Электронные компоненты и расходные материалы

$
Настройка отображения валюты
Полный каталог
Скидка на  Переключатели перекидные (Тумблеры)
-20%

С5-36В 50W(Ватт) 47 Ω(Ом)±5% Резистор постоянный с регулировкой(арт. TN-7867)

" 1" - ОТК; ОАО Кермет, Белинский, Пензенская обл.; радиальное; ОЖ0.467.551 ТУ, ГОСТ 2825-67

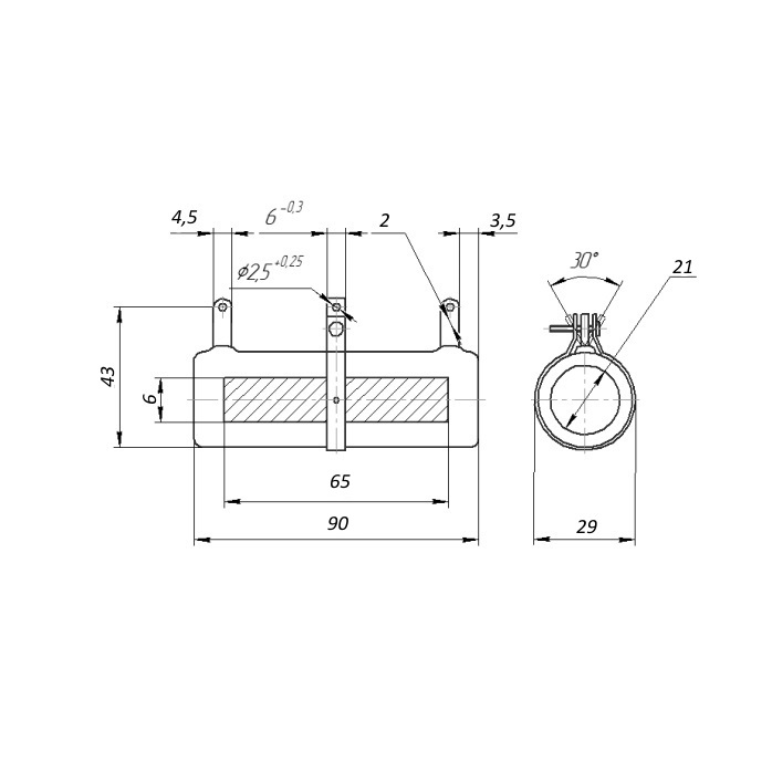
С5-36В 50W(Ватт) 47Ω(Ом)±5% Резистор постоянный с регулировкой, проволочный, нагрузочный, влагостойкий. Структура условного обозначения: С5-36В – тип резистора (C – Сопротивление (резистор), 5 – Проволочное исполнение, 36 – Переменный резистор общего назначения, В – Влагостойкий); 50 - номинальная мощность: 50W(Ватт); 47Ω – номинальное сопротивление (Ом), ±5% - допустимое отклонение сопротивления от номинального. Конструкция резистора обеспечивает возможность изменения сопротивления перемещением хомутика. Для монтажа используется комплект крепления, соответствующий типоразмеру резистора (при необходимости заказывается отдельно). Предназначен для работы в цепях постоянного и переменного тока. Вся дополнительная информация находится во вложении на товар, см. pdf - файл.

Подробнее
Заметили
ошибку ?
Сообщите нам

Общая информация

Наименование С5-36В 50W(Ватт) 47 Ω(Ом)±5% Резистор постоянный с регулировкой
Торговая марка ОАО Кермет, Белинский, Пензенская обл.
Страна изготовления РОССИЯ
Нормы и требования ОЖ0.467.551 ТУ, ГОСТ 2825-67
Дата изготовленияi 1992-1999
Вид приемки i "1"- ОТК
Масса изделия, гр 110
Наличие паспорта - этикетки нет
Состояние упаковки самоупаковка
Транслитерация S5-36V 50W(Watt) 47Ω(Ohm)±5% Constant resistor with adjustment

Основные параметры

Функциональная группа Резисторы постоянные
Функциональный тип резисторы проволочные мощные
Серия резисторов С5-36В
Габаритные размеры L*W*H 90х29х43 mm
Длина корпуса 90 mm
Диаметр корпуса 29 mm
Наличие регулировки есть
Материал резистивного элемента проволока
Расположение выводов радиальное
Вид выводов пластинчатые
Материал выводов латунь
Покрытие выводов лужение
Количество выводов 3
Расстояние между выводами 70 mm
Материал корпуса керамика
Покрытие корпуса кремнийорганика
Цвет корпуса зеленый
Метод монтажа механический на крепление
Метод монтажа электрический пайка
Фактическая маркировка С5-36В 50 47Ом±5%
Рабочее положение любое

Технические характеристики

Единицы измерения сопротивления Ω (Ом)
Номинальное сопротивление 47 Ω
Пределы номинального сопротивления 18 Ω - 51 kΩ
Номинальная мощность 50 W
Рабочее напряжение, max 1400 VDC; 1000 VAC
ТКС - температурный коэффициент сопротивления ±500×10⁻⁶/1°C
Допустимое отклонение ±5%
Сопротивление изоляции 1000 MΩ
- диапазон частот 10-1000 Hz
- амплитуда ускорения 200 m/c²
- ударное ускорение 5000 m/c²
- ударное ускорение 5000 m/c²

Условия эксплуатации

Интервал рабочих температур от -60 до +155°С
Минимальная наработка 10 000 час.
Минимальный срок сохраняемости, лет 12
Климатическое исполнениеi В - всеклиматическое исполнение
Относительная влажность 98% при температуре +35°С
Атмосферное давление 5-2280 мм рт.ст.

Полные аналоги

ПЭВР-50 50W(Ватт) 47Ω(Ом)±5% Резистор постоянный с регулировкой., фото
Артикул (ID): TN-7155
ПЭВР-50 50W(Ватт) 47Ω(Ом)±5% Резистор постоянный с регулировкой.
  • 295 1 шт.
  • 275 от 5 шт.
ПЭВР-50Вт 47Ом±5% ОАО "Алагирский Завод Сопротивления", фото
ПЭВР-50Вт 47Ом±5% ОАО "Алагирский Завод Сопротивления"
ПЭВР-50Вт 47Ом±5% АО "Кермет", фото
ПЭВР-50Вт 47Ом±5% АО "Кермет"
ПЭВР-50Вт 47Ом±5% (аналог) RUICHI, фото
ПЭВР-50Вт 47Ом±5% (аналог) RUICHI

Функциональные аналоги

ПЭВР-50Вт 51Ом±5% АО "Кермет", фото
ПЭВР-50Вт 51Ом±5% АО "Кермет"
DSR-F 50W 47RJ HKFC Industrial, фото
DSR-F 50W 47RJ HKFC Industrial
ПЭВР-50Вт 47Ом±10% АО "Кермет", фото
ПЭВР-50Вт 47Ом±10% АО "Кермет"
С5-36 50Вт 47Ом±10% ОАО "Алагирский Завод Сопротивления", фото
С5-36 50Вт 47Ом±10% ОАО "Алагирский Завод Сопротивления"

Возможные аналоги

QL0050J0470000 ROYAL OHM, фото
QL0050J0470000 ROYAL OHM
R50W-47R SR PASSIVES, фото
R50W-47R SR PASSIVES
HS50 47R F 	Ohmite, фото
HS50 47R F Ohmite
TE50B47RJ TE, фото
TE50B47RJ TE
50WM047 NTE, фото
50WM047 NTE
THS5047RJ TE, фото
THS5047RJ TE
Загрузка...
Принимаем заказы на товары,
не вошедшие в каталог

Пришлите маркировку необходимого вам товара.
Мы предоставим Вам наилучшие условия по поставке!

Оформить заявку

Похожие товары

Артикул (ID): TN-7077
ПЭВР-50 50W(Ватт) 22Ω(Ом)±5% Резистор постоянный с регулировкой
  • 295 1 шт.
  • 275 от 5 шт.
Артикул (ID): BN-6719
ПЭВР-50 50W(Ватт) 300Ω(Ом)±10% Резистор постоянный с регулировкой
  • 295 1 шт.
  • 275 от 5 шт.
Артикул (ID): TN-7673
ПЭВР-50 50W(Ватт) 47Ω(Ом)±5% Резистор постоянный с регулировкой
  • 295 1 шт.
Артикул (ID): TN-4811
ПЭВР-50 50W(Ватт) 470Ω(Ом)±5% Резистор постоянный с регулировкой
Артикул (ID): TN-3461
ПЭВР-50 50W(Ватт) 1,8kΩ(кОм)±5% Резистор постоянный с регулировкой
  • 315 1 шт.
  • 295 от 5 шт.
Артикул (ID): TF-421
С5-36В 10W(Ватт) 12Ω(Ом)±5% Резистор постоянный с регулировкой, ОЖ0.467.541 ТУ.
Артикул (ID): TF-543
ПЭВ-10 10W(Ватт) 390Ω(Ом)±5% Резистор постоянный,ОЖ0.467.576 ТУ
  • 99 1 шт.
Артикул (ID): TF-691
С5-5В 1W(Ватт) 2,2kΩ(кОм)±0,5% Резистор постоянный, ОЖО 467.505 ТУ
  • 49 1 шт.
  • 49 .
Артикул (ID): TF-693
С5-5В 1W(Ватт) 100Ω(Ом)±5% Резистор постоянный, ОЖ0.467.553 ТУ
  • 49 1 шт.
  • 49 .
Артикул (ID): TF-698
С5-5В 2W(Ватт) 24Ω(Ом)±2% Резистор постоянный, ОЖО.467.505 ТУ
  • 135 1 шт.
Артикул (ID): ZR-6146
RX24 50W(Ватт) 27Ω(Ом)±5% Резистор постоянный
  • 137.34 1 шт.
  • 114.45 от 10 шт.
  • 137.34 .
Артикул (ID): TF-1025
ПЭВ-7,5 7,5W(Ватт) 1kΩ(кОм)±5% Резистор постоянный, ОЖ0.467.576 ТУ
  • 89 1 шт.
Артикул (ID): TF-1027
С5-5В 1W(Ватт) 2,2kΩ(кОм)±0,5% Резистор постоянный, ОЖО 467.505 ТУ.
  • 49 1 шт.
  • 49 .
Артикул (ID): TF-1029
С5-5 5W(Ватт) 820Ω(Ом)±1% Резистор постоянный ОЖО 467.505 ТУ
  • 165 1 шт.
  • 165 .
Артикул (ID): ZR-6331
RX27-1 (SQP10) 10W(Ватт) 2,2Ω(Ом)±5% Резистор постоянный
  • 15.57 1 шт.
  • 12.98 от 10 шт.
  • 15.57 .

Недавно просмотренные товары

Принимаем к оплате
IP Electron в соцсетях