64 361 товара в наличии и на заказ

Электронные компоненты и расходные материалы

$
Настройка отображения валюты
Полный каталог
Скидка на  Соединители
-20%

МЛТ-0,125W(Ватт) 47k Ω(кОм)±5% Резистор металлопленочный, ОЖ0.467.180ТУ(арт. TP-4153)

МЛТ-0,125Вт 47кОм±5% резистор постоянный, непроволочный, неизолированный. Структура условного обозначения: М - металлопленочный; Л -  лакированный; Т -  теплостойкий; 0,125Вт – мощность рассеивания (Ватт); 47кОм – номинальное сопротивление, единицы измерения; ±5% - допустимое отклонение сопротивления; климатическое исполнение – УХЛ (в маркировке не проставляется). Резисторы МЛТ предназначены для работы в электрических цепях постоянного, переменного и импульсного токов. Вся дополнительная информация находится во вложении на товар, см. pdf - файл.

Подробнее
Заметили
ошибку ?
Сообщите нам

Общая информация

Наименование МЛТ-0,125W(Ватт) 47k Ω(кОм)±5% Резистор металлопленочный, ОЖ0.467.180ТУ
Торговая марка Северодонецкий завод сопротивлений
Страна изготовления СССР
Нормы и требования ОЖ0.467.180ТУ
ТУ ОЖ0.467.180ТУ
Вид приемки i "1"- ОТК
Масса изделия, гр 0,09
Дата выпуска 1988
Транслитерация MLT-0.125W(Watt) 47kΩ(kOhm)±5% Metal-film resistor, OZh0.467.180TU
Состояние упаковки заводская
Дата изготовленияi 1976-1991

Основные параметры

Функциональная группа Резистор постоянный
Функциональный тип резисторы металлопленочные
Серия резисторов МЛТ
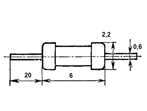
Габаритные размеры L*W*H 2,2х46 mm
Высота корпуса 6 mm
Диаметр корпуса 2,2 mm
Метод монтажа механический в плату
Метод монтажа электрический пайка
Вид выводов аксиальные проволочные
Количество выводов 2
Диаметр выводов 0,6 mm
Длина выводов 20 mm
Материал выводов Cu (медь)
Покрытие выводов лужение
Материал корпуса керамика, резистивная пленка
Покрытие корпуса покрашен (эмаль)
Цвет корпуса коричневый
Фактическая маркировка 47К J
Рабочее положение любое
Аналогичные серии ОМЛТ…, МТ…, С2-23…, С2-33…
Другие наименования резисторы металлизированными, металлодиэлектрические…

Технические характеристики

Номинальное сопротивление 47 kΩ
Допустимое отклонение ±5%
Пределы номинального сопротивления 8,2 Ω - 3 MΩ
Рабочее напряжение, max 200 V
Номинальная мощность 0,125 W
Уровень шумов 5 mkV/V
Температурный коэффициент сопротивления (ТКС) ±1000 (1х10⁻⁶)°С
Ряд сопротивления резисторов E24
Температурный коэффициент сопротивления (ТКС) ±1000 (1х10⁻⁶)°С
Синусоидальная вибрация: :
- амплитуда ускорения 10 g
- диапазон частот 1-600 Hz
Механический удар многократное действие: длительность действия 2 - 10 ms
Механический удар многократное действие: пиковое ударное ускорение 40 g

Условия эксплуатации

Интервал рабочих температур от -60 до +125°C
Относительная влажность 98% при температуре +25°С
Атмосферное давление от 106700 до 303974 Pa
Климатическое исполнениеi УХЛ
Минимальный срок сохраняемости, лет 15

Функциональные аналоги

МТ-0,125Вт 47кОм±10% Резистор, фото
МТ-0,125Вт 47кОм±10% Резистор
МТ-0,125Вт 47кОм±5% Резистор, фото
МТ-0,125Вт 47кОм±5% Резистор
МЛТ-0,125Вт 47кОм±10% Резистор, фото
МЛТ-0,125Вт 47кОм±10% Резистор
ОМЛТ-0,125Вт 47кОм±10% Резистор, фото
ОМЛТ-0,125Вт 47кОм±10% Резистор
ОМЛТ-0,125Вт 47кОм±5% Резистор, фото
ОМЛТ-0,125Вт 47кОм±5% Резистор

Возможные аналоги

С2-33 0,125Вт 47кОм±5% Резистор, фото
С2-33 0,125Вт 47кОм±5% Резистор
С2-33 0,125Вт 47кОм±10% Резистор, фото
С2-33 0,125Вт 47кОм±10% Резистор
С2-23 0,125Вт 47кОм±5% Резистор, фото
С2-23 0,125Вт 47кОм±5% Резистор
С2-23 0,125Вт 47кОм±10% Резистор, фото
С2-23 0,125Вт 47кОм±10% Резистор
Загрузка...
Принимаем заказы на товары,
не вошедшие в каталог

Пришлите маркировку необходимого вам товара.
Мы предоставим Вам наилучшие условия по поставке!

Оформить заявку

Похожие товары

Артикул (ID): ZR-8507
МЛТ-1Вт 10МОм Резистор.
  • 2.23 1 шт.
  • 1.86 от 10 шт.
  • 1.86 от 100 шт.
Артикул (ID): CC-05300
Резистор угольный CFR 1W 360R 5% B/B / CFR01WJ0361B00
  • 1.08 1 шт.
Артикул (ID): TF-1814
МЛТ-0,5W(Ватт) 330Ω(Ом)±10% Резистор металлопленочный, ОЖ0.467.180ТУ
  • 23 1 шт.
Артикул (ID): TF-1738
С2-23 0,125Вт 9,88кОм±0,25% Резистор, ОЖО .467.104 ТУ
  • 8 1 шт.
Артикул (ID): TF-1705
МЛТ-0,5W(Ватт) 1,2kΩ(кОм)±5% Резистор, ОЖ0.467.180 ТУ
  • 23 1 шт.
Артикул (ID): TF-1695
МЛТ-0,5Вт 1МОм±10% Резистор, ОЖ0.467.180 ТУ
  • 23 1 шт.
Артикул (ID): TF-1644
МЛТ-0,5W(Ватт) 18kΩ(кОм)±5% Резистор металлопленочный, ОЖ0.467.180ТУ
  • 23 1 шт.
Артикул (ID): TF-1640
МЛТ-0,5Вт 4,7МОм±10% Резистор, ОЖ0.467.180 ТУ
  • 23 1 шт.
  • 20 от 10 шт.
Артикул (ID): TF-1627
С2-23 0,125Вт 453Ом±0,5% Резистор, ОЖО .467.104 ТУ
  • 8 1 шт.
  • 7 от 10 шт.
Артикул (ID): TF-1430
С2-23 0,125Вт 2,37кОм±0,5% Резистор, ОЖО .467.104 ТУ
  • 8 1 шт.
  • 7 от 10 шт.
Артикул (ID): TF-1424
МЛТ-0,5W(Ватт) 3,9kΩ(кОм)±10% Резистор металлопленочный, ОЖ0.467.180ТУ..
  • 23 1 шт.
  • 20 от 10 шт.
Артикул (ID): TF-1419
МЛТ-1 1W(Ватт) 160kΩ(кОм)±10% Резистор, ОЖО.467.180 ТУ.
  • 26 1 шт.
Артикул (ID): TF-1416
МЛТ-1 1W(Ватт) 390Ω(Ом)±10% Резистор, ОЖО.467.180 ТУ
  • 26 1 шт.
Артикул (ID): TF-1415
МЛТ-1 1W(Ватт) 6,8kΩ(кОм)±10% Резистор, ОЖО.467.180 ТУ
  • 26 1 шт.
Артикул (ID): TF-1413
МЛТ-1 1W(Ватт) 100kΩ(кОм)±5% Резистор, ОЖО.467.180 ТУ
  • 26 1 шт.

Недавно просмотренные товары

Принимаем к оплате
IP Electron в соцсетях