74 572 товаров в наличии и на заказ

Электронные компоненты и расходные материалы

$
Настройка отображения валюты
Полный каталог
Скидка на Конденсаторы
-20%

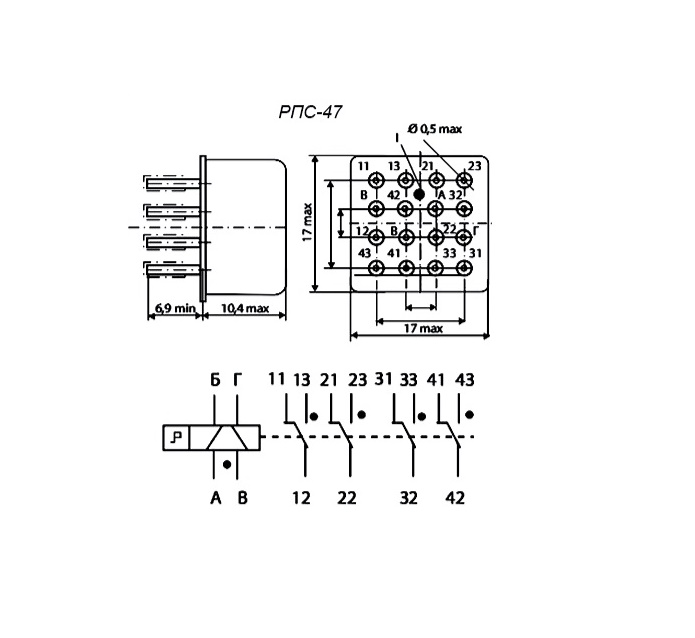
РПС47 РС4.520.764-02 4 перекл. 27VDC Реле, ЯЛ0.452.093ТУ (арт. TF-405)

ОАО НПП «Старт», В.Новгород; " 1" - ОТК; -; 16 выводов; в плату; бистабильные реле, импульсные реле…; РПС49, РПС50, РПС51, РПС53, РПС54, РПС56.

РПС-47 РС4.520.764-02 Реле электромагнитное, слаботочное, поляризованное, двухпозиционное, герметичное, постоянного тока с четырьмя переключающими контактами предназначено для коммутации электрических цепей постоянного тока частотой до 10000 Гц. Расшифровка условного обозначения: РПС47 РС4.520.764-02 РПС - реле поляризованное слаботочное низкочастотное; 47 - порядковый номер разработки; РС4.520.764-02 - исполнение (паспорт) реле в зависимости от электрических параметров, конструктивных особенностей и климатического исполнения.  Вся дополнительная информация находится во вложении на товар, см. pdf - файл.

Подробнее
Заметили
ошибку ?
Сообщите нам

Общая информация

Наименование РПС47 РС4.520.764-02 4 перекл. 27VDC Реле, ЯЛ0.452.093ТУ
Торговая марка ОАО НПП «Старт», В.Новгород
Страна изготовления СССР
Нормы и требования ЯЛ0.452.093ТУ; ГОСТ 16121-86
Дата изготовленияi 1976-1991
Вид приемки i "1"- ОТК
Масса изделия, гр 10
Транслитерация RPS47 RS4.520.764-02 4 switches 27VDC Relay, YAL0.452.093TU
Наличие паспорта - этикетки нет
Состояние упаковки самоупаковка

Основные характеристики

Функциональная группа Реле электромагнитное
Функциональный тип реле поляризованные
Серия реле РПС47
Исполнение РС4.520.764-02
Поляризация поляризованное
Число и вид контактов 4 перекл.
Количество групп контактов четыре контактные группы
Тип реле (конструктивное исполнение) закрытое
Род тока постоянный
Варианты крепления реле без угольников
Герметичность герметичный
Количество выводов 16 выводов
Материал выводов латунь
Покрытие выводов (Ag) серебро
Габаритные размеры L*W*H 17х17х17 mm
Материал корпуса металлостеклянный
Покрытие корпуса без покрытия
Цвет корпуса серый
Длина корпуса 17 mm
Ширина корпуса 17 mm
Высота корпуса 10,4 mm
Метод монтажа электрический пайка
Фактическая маркировка РПС47 РС4.520.764-02
Рабочее положение любое
Другие наименования бистабильные реле, импульсные реле…
Аналогичные серии РПС49, РПС50, РПС51, РПС53, РПС54, РПС56.

Технические характеристики

Номинальное напряжение 27 V
Номинальное напряжение контактов 27 V
Номинальное напряжение катушки 27 VDC
Сопротивление обмоток 592 - 888 Ω
Напряжение срабатывания 9 - 15 V
Вид нагрузки активная
Частота коммутации 10000 Hz
Сопротивление изоляции 200 MΩ
Сопротивление контактов не более 0,25 Ω
Электрическая прочность изоляции 200 V
Синусоидальная вибрация: :
- амплитуда ускорения 100 m/c²
- диапазон частот 1-5000 Hz
Электрическая прочность изоляции между токоведущими цепями 200 V
Механический удар многократное действие: длительность действия 1 - 5 ms
Механический удар многократное действие: пиковое ударное ускорение 750 m/c²
Механический удар однократное действие: длительность действия 0,1 - 2 ms
Механический удар однократное действие: пиковое ударное ускорение 5000 m/c²

Условия эксплуатации

Интервал рабочих температур от -60 до +125°C
Климатическое исполнениеi УХЛ
Относительная влажность 98% при температуре +35°С
Атмосферное давление от 1,33х10⁻⁶ до 2,97х10⁵ Pa
Ресурс 100 000 циклов
Минимальный срок сохраняемости, лет 12 лет
Загрузка...
Принимаем заказы на товары,
не вошедшие в каталог

Пришлите маркировку необходимого вам товара.
Мы предоставим Вам наилучшие условия по поставке!

Оформить заявку

Похожие товары

Артикул (ID): BV-9299
РПС34А-ОС РС4.520.243 4 перекл. 27VDC Реле. ЯЛ0.452.079 ТУ
  • 1002 1 шт.
Артикул (ID): ZS-6890
РПС32Б 222 (200*г) Реле.
  • 922.32 1 шт.
  • 922.32 от 10 шт.
Артикул (ID): ZS-6889
РПС32Б 207 Реле.
  • 1844.64 1 шт.
  • 1844.64 от 10 шт.
Артикул (ID): KK-15065
РПА 16.080||5|1990|Радиореле|
  • 2040 1 шт.
Артикул (ID): KK-14753
РПС 32 А.224||5|1988|Старт|з/уп,краш.корпус
  • 510 1 шт.
Артикул (ID): KK-14757
РПС 32 А.224||5|1995|Старт|з/уп
  • 646 1 шт.
Артикул (ID): KK-14756
РПС 32 А.224||5|1991|Старт|з/уп
  • 612 1 шт.
Артикул (ID): KK-14755
РПС 32 А.224||5|1990|Старт|з/уп
  • 612 1 шт.
Артикул (ID): KK-14754
РПС 32 А.224||5|1989|Старт|з/уп
  • 544 1 шт.
Артикул (ID): KK-14752
РПС 32 А.224||5|1988|Старт|з/уп
  • 510 1 шт.
Артикул (ID): TF-1915
РПС45 РС4.520.755-10 2 перекл. 27VDC Реле, ЯЛ0.452.081 ТУ
  • 1035 1 шт.
Артикул (ID): TF-558
РПС32Б РС4.520.220 2 перекл. 10VDC Реле, ЯЛ0.452.080 ТУ
  • 2925 1 шт.
Артикул (ID): TF-561
РПС32Б РС4.520.224 2 перекл. 27VDC Реле, ЯЛ0.452.080 ТУ.
  • 1062 1 шт.
Артикул (ID): TF-560
РПС32А-ОС РС4.520.224 2 перекл. 27VDC Реле. ЯЛ0.452.080 ТУ
  • 1062 1 шт.
Артикул (ID): TF-559
РПС32Б-ОС РС4.520.224 2 перекл. 27VDC Реле, ЯЛ0.452.080 ТУ
  • 1062 1 шт.

Недавно просмотренные товары

Принимаем к оплате
IP Electron в соцсетях